Запчасти Komatsu PW150-1 ВЕРХН. ВОЗДУХОВОД (8/8) (КЛАПАН - ПОВОРОТН. СОЕД-Е) (TBG¤ ABE СПЕЦ-Я.) СПЕЦ. APPLICATION ЧАСТИ¤ МАРКИРОВКА¤ ИНСТРУМЕНТ И РЕМКОМПЛЕКТЫ

Схема запчастей Komatsu PW150-1 - ВЕРХН. ВОЗДУХОВОД (8/8) (КЛАПАН - ПОВОРОТН. СОЕД-Е) (TBG¤ ABE СПЕЦ-Я.) СПЕЦ. APPLICATION ЧАСТИ¤ МАРКИРОВКА¤ ИНСТРУМЕНТ И РЕМКОМПЛЕКТЫ
FIT
1:1
100%

Артикул

Название

Примечание

Количество

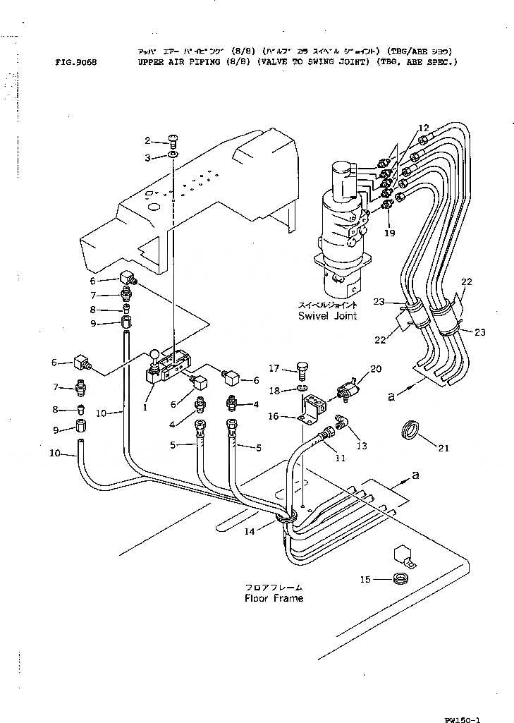
1

20G-68-11210

VALVE ASS'Y

2

01220-40540

SCREW

3

01641-20508

WASHER

4

20D-68-12150

NIPPLE

5

20G-68-12190

HOSE

6

20G-68-12930

ELBOW

7

07836-00413

CONNECTOR

8

07831-00411

SLEEVE

9

07832-00410

NUT

10

07822-00407

TUBE

11

20G-68-13210

HOSE

12

20G-68-12150

NIPPLE

13

20D-68-41970

ELBOW

13

281-35-13290

ELBOW

14

08037-05016

GROMMET

15

08037-03614

GROMMET

16

20G-68-12320

BLOCK

17

01010-51025

BOLT

18

01602-21030

WASHER,SPRING

19

20G-68-12370

NIPPLE

20

20G-68-11310

SWITCH,LOW PRESSURE

21

08037-05022

GROMMET

22

08034-00823

BAND

23

205-62-53780

COVER

Выбрано товаров: 0