Запчасти Komatsu PW150-1 ЭЛЕКТРИКА (/) (REGULATION OF SWEDEN) СПЕЦ. APPLICATION ЧАСТИ¤ МАРКИРОВКА¤ ИНСТРУМЕНТ И РЕМКОМПЛЕКТЫ

Схема запчастей Komatsu PW150-1 - ЭЛЕКТРИКА (/) (REGULATION OF SWEDEN) СПЕЦ. APPLICATION ЧАСТИ¤ МАРКИРОВКА¤ ИНСТРУМЕНТ И РЕМКОМПЛЕКТЫ
FIT
1:1
100%

Артикул

Название

Примечание

Количество

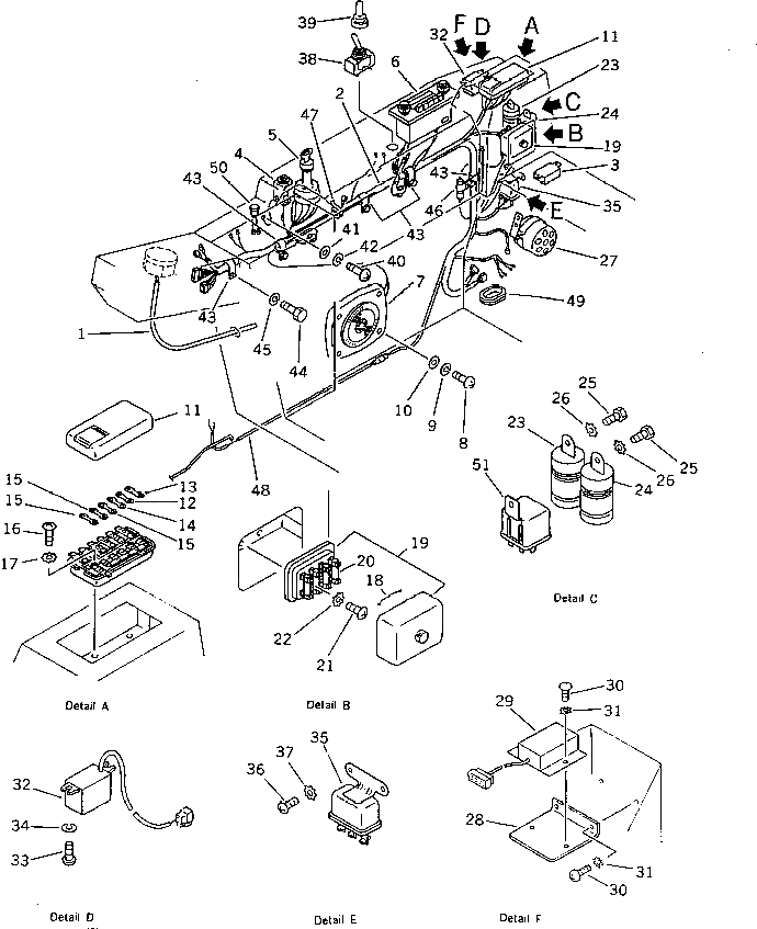
1

20G-06-12410

TUBE,3200MM

2

20G-06-12610

HARNESS

3

22W-44-11661

SWITCH,LOW PRESSURE

4

600-815-2371

SIGNAL,HEATER

5

08086-20000

SWITCH,STARTING

6

20G-06-15112

RADIO

6

20G-06-15110

RADIO

7

20G-06-15120

SPEAKER

8

01220-40420

SCREW

9

01601-20410

WASHER,SPRING

10

01641-20405

WASHER

11

175-06-35430

BOX,FUSE

12

175-06-35380

FUSE, 40A

13

175-06-35390

FUSE, 30A

14

175-06-35410

FUSE, 20A

15

175-06-35420

FUSE, 10A

16

01220-40616

SCREW

17

01611-06060

WASHER

18

20G-06-14460

WIRE

19

08043-04000

BOX

20

08040-02000

FUSE, 20A

21

01235-40516

SCREW

22

01611-05060

WASHER

23

08077-22400

FLASHER

24

20G-06-12510

FLASHER

25

01010-50612

BOLT

26

01611-06060

WASHER

27

08166-02445

BUZZER

28

20G-06-12180

BRACKET

29

20G-06-15131

TIMER

30

01220-40610

SCREW

31

01611-06060

WASHER

32

22W-06-13330

BUZZER ASS'Y

33

01220-40410

SCREW

34

01601-20410

WASHER,SPRING

35

08163-02400

RELAY,HORN

36

01220-40608

SCREW

37

01611-06060

WASHER,LOCK

38

203-06-41570

SWITCH,SWING BRAKE RELEASE

39

203-06-41680

CAP,RED

40

01220-40610

SCREW

41

01641-20608

WASHER

42

01602-20619

WASHER,SPRING

43

08036-01814

CLIP

44

01010-51016

BOLT

45

01602-21030

WASHER,SPRING

46

08036-02514

CLIP

47

08034-00519

BAND

48

205-06-71532

WIRE

49

176-911-4160

GROMMET

50

08147-22400

LAMP

51

22W-06-13450

RELAY ASS'Y

Выбрано товаров: 52