Запчасти Komatsu PW150-1 ОСНОВНАЯ РАМА (REGULATION OF SWEDEN) СПЕЦ. APPLICATION ЧАСТИ¤ МАРКИРОВКА¤ ИНСТРУМЕНТ И РЕМКОМПЛЕКТЫ

Схема запчастей Komatsu PW150-1 - ОСНОВНАЯ РАМА (REGULATION OF SWEDEN) СПЕЦ. APPLICATION ЧАСТИ¤ МАРКИРОВКА¤ ИНСТРУМЕНТ И РЕМКОМПЛЕКТЫ
FIT
1:1
100%

Артикул

Название

Примечание

Количество

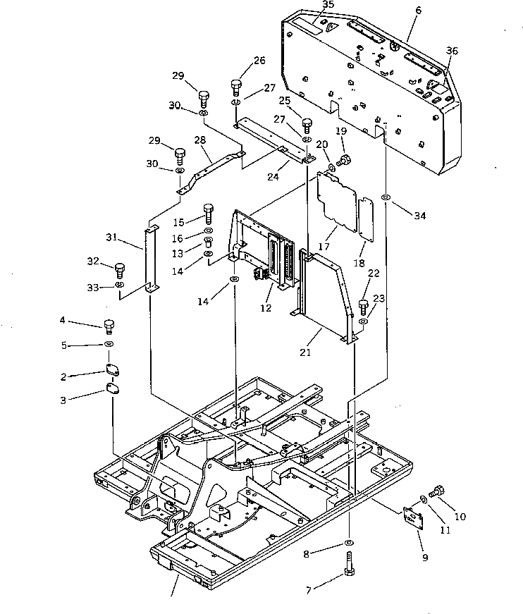
1

20G-46-13210

FRAME

2

203-46-31131

COVER

3

203-46-31181

GASKET

4

01010-51230

BOLT

5

01643-31232

WASHER

6

20G-46-13220

WEIGHT

7

01011-52475

BOLT

8

01643-32460

WASHER

9

20G-46-11240

COVER

10

01010-50816

BOLT

11

01602-20825

WASHER,SPRING

12

20G-46-12111

BRACKET

13

20G-46-12260

COLLAR

14

205-46-51240

CUSHION

15

01010-51675

BOLT

16

01643-31645

WASHER

17

20G-46-13230

COVER

18

20G-46-12221

COVER

19

01010-51025

BOLT

20

01602-21030

WASHER,SPRING

21

20G-46-12122

BRACKET

22

01010-51240

BOLT

23

01643-31232

WASHER

24

20G-46-12130

BRACKET

25

01010-51220

BOLT

26

01010-51235

BOLT

27

01602-21236

WASHER,SPRING

28

20G-46-12250

PLATE

29

01010-51230

BOLT

30

01602-21236

WASHER,SPRING

31

20G-46-12140

BRACKET

32

01010-51235

BOLT

33

01602-21236

WASHER,SPRING

34

21K-46-12190

SHIM

35

154-54-23260

SEAT

36

20G-54-14550

SEAT

Выбрано товаров: 0