Запчасти Komatsu PW150-1 MACHINERY ОБСТАНОВКА (/) (REGULATION OF SWEDEN) СПЕЦ. APPLICATION ЧАСТИ¤ МАРКИРОВКА¤ ИНСТРУМЕНТ И РЕМКОМПЛЕКТЫ

Схема запчастей Komatsu PW150-1 - MACHINERY ОБСТАНОВКА (/) (REGULATION OF SWEDEN) СПЕЦ. APPLICATION ЧАСТИ¤ МАРКИРОВКА¤ ИНСТРУМЕНТ И РЕМКОМПЛЕКТЫ
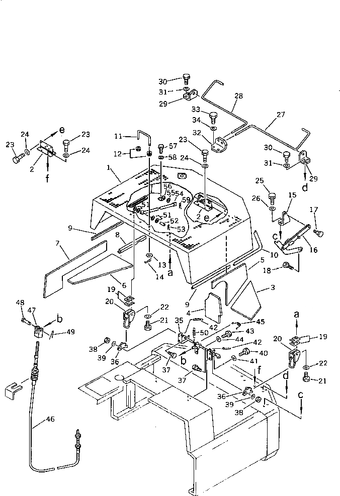
FIT
1:1
100%

Артикул

Название

Примечание

Количество

|$0

20G-54-00071

HOOD ASS'Y

|$1

20G-54-00070

HOOD ASS'Y

1

HOOD

1

HOOD

2

203-54-44950

HINGE,L.H.

2

203-54-44960

HINGE,R.H.

|$6

20G-54-11100

SHEET ASS'Y

3

20G-54-11710

SHEET

4

20G-54-11730

SHEET

5

20G-54-11740

SHEET

6

20G-54-11860

SHEET

7

20G-54-11870

SHEET

8

20G-54-11530

SHEET

9

20G-54-11680

TRIM

10

20G-54-11690

TRIM

11

20G-54-11590

BAR

12

08037-01008

GROMMET

13

01643-31032

WASHER

14

04050-12020

PIN,COTTER

15

20G-54-11910

BRACKET

16

20R-54-21430

STAY

17

20R-54-21440

BOLT

18

20R-54-21450

BOLT

19

203-54-44940

PLATE

20

203-54-42350

BRACKET

21

01010-51025

BOLT

22

01643-31032

WASHER

23

01010-51020

BOLT

24

01643-31032

WASHER

25

01010-51025

BOLT

26

01643-31032

WASHER

27

203-54-42250

BAR,TORSION

28

203-54-42260

BAR,TORSION

29

203-54-42271

PLATE

29

203-54-42270

PLATE

30

01010-51020

BOLT

30

01010-51025

BOLT

31

01643-31032

WASHER

32

203-54-42281

PLATE

32

203-54-42280

PLATE

33

01010-51020

BOLT

33

01010-51025

BOLT

34

01643-31032

WASHER

35

20G-54-11771

LEVER

36

203-54-42320

LEVER

37

20T-54-26310

BOLT

38

01580-11210

NUT

39

01643-31232

WASHER

40

01010-51020

BOLT

41

01643-31032

WASHER

42

203-54-42340

SPRING

43

01010-51020

BOLT

44

01643-31032

WASHER

45

09467-00002

SPRING

46

20G-54-11790

CABLE

47

04210-20500

YOKE

48

04205-10514

PIN

49

04050-11210

PIN,COTTER

50

145-43-36550

SPRING

51

175-54-88110

WASHER

52

04205-11035

PIN

53

04050-13020

PIN,COTTER

54

21K-54-26271

STAY

55

01641-21016

WASHER

56

21K-54-26280

BRACKET

57

01010-51025

BOLT

58

01643-31032

WASHER

59

04050-13030

PIN,COTTER

Выбрано товаров: 0