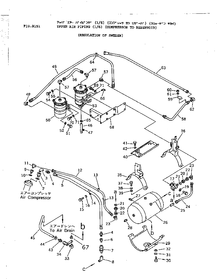
Запчасти Komatsu PW150-1 ВЕРХН. ВОЗДУХОВОД (/) (КОМПРЕССОР - РЕЗЕРВУАР) (REGULATION OF SWEDEN) СПЕЦ. APPLICATION ЧАСТИ¤ МАРКИРОВКА¤ ИНСТРУМЕНТ И РЕМКОМПЛЕКТЫ

Схема запчастей Komatsu PW150-1 - ВЕРХН. ВОЗДУХОВОД (/) (КОМПРЕССОР - РЕЗЕРВУАР)         (REGULATION OF SWEDEN) СПЕЦ. APPLICATION ЧАСТИ¤ МАРКИРОВКА¤ ИНСТРУМЕНТ И РЕМКОМПЛЕКТЫ
FIT
1:1
100%

Артикул

Название

Примечание

Количество

1

113-899-6820

NIPPLE

2

205-68-51210

GASKET

3

07323-30300

ELBOW

4

07821-10801

NIPPLE

5

20G-68-19440

HOSE

6

201-62-27650

NIPPLE

7

281-34-11510

VALVE ASS'Y,CHECK

8

07323-30400

ELBOW

9

104-890-1270

NIPPLE

10

07004-01525

GASKET

11

176-43-41350

ELBOW

12

20D-68-41120

HOSE

13

08036-11214

CLIP

14

21T-68-11320

CLIP

14

08036-01814

CLIP

15

01010-51020

BOLT

16

01602-21030

WASHER,SPRING

17

6131-81-3210

REGULATOR

18

01010-50825

BOLT

19

01643-30823

WASHER

20

205-68-51190

ADAPTER

21

07003-11217

GASKET

22

07326-10402

ADAPTER

23

07325-10200

NIPPLE

24

20G-68-13130

HOSE

25

20D-68-41970

ELBOW

25

281-35-13290

ELBOW

|$27

20G-68-00030

AIR RESERVOIR ASS'Y

26

RESERVOIR

27

07042-10617

PLUG

28

07042-20415

PLUG

29

20G-68-14210

BRACKET

30

01010-51235

BOLT

31

01602-21236

WASHER,SPRING

32

01643-31232

WASHER

33

20D-68-11670

ELBOW

34

07700-40240

VALVE

35

20G-68-14220

BRACKET

36

20G-68-14230

BRACKET

37

01010-51030

BOLT

38

01602-21030

WASHER,SPRING

39

01643-31032

WASHER

40

20G-68-11261

PLATE

41

01010-51025

BOLT

42

01643-31032

WASHER

43

20B-04-21110

NIPPLE

44

07280-01620

CLAMP

45

07270-01050

TUBE

46

362-98-11130

TUBE

47

08036-02514

CLIP

48

22W-44-13970

ELBOW

49

20G-68-19440

HOSE

50

20G-68-19790

CHAMBER ASS'Y

51

01010-51020

BOLT

52

01643-31032

WASHER

53

20G-68-19780

AIR DRYER ASS'Y

54

01010-51020

BOLT

55

01643-31032

WASHER

56

20D-68-49190

TUBE

57

21T-38-12280

ELBOW

58

20G-68-14110

TUBE

59

07283-21529

CLIP

60

01598-00809

NUT

61

01643-30823

WASHER

62

20G-68-19480

ELBOW

63

20G-68-19880

HOSE

64

08036-01814

CLIP

65

07280-02323

CLAMP

66

20D-68-41970

ELBOW

66

281-35-13290

ELBOW

67

175-45-17790

NIPPLE

68

20G-68-14130

BRACKET

69

01010-51020

BOLT

70

01010-51025

BOLT

71

01643-31032

WASHER

Выбрано товаров: 75