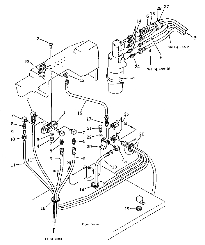
Запчасти Komatsu PW150-1 ВЕРХН. ВОЗДУХОВОД (/) (КЛАПАН - ПОВОРОТНОЕ СОЕДИНЕНИЕ)(REGULATION OF SWEDEN) СПЕЦ. APPLICATION ЧАСТИ¤ МАРКИРОВКА¤ ИНСТРУМЕНТ И РЕМКОМПЛЕКТЫ

Схема запчастей Komatsu PW150-1 - ВЕРХН. ВОЗДУХОВОД (/) (КЛАПАН - ПОВОРОТНОЕ СОЕДИНЕНИЕ)          (REGULATION OF SWEDEN) СПЕЦ. APPLICATION ЧАСТИ¤ МАРКИРОВКА¤ ИНСТРУМЕНТ И РЕМКОМПЛЕКТЫ
FIT
1:1
100%

Артикул

Название

Примечание

Количество

1

20G-68-11210

VALVE ASS'Y

2

01220-30450

SCREW

3

01641-20405

WASHER

4

01580-00403

NUT

5

20D-68-12150

NIPPLE

6

20G-68-12190

HOSE

7

20G-68-12930

ELBOW

8

07836-00413

CONNECTOR

9

07831-00411

SLEEVE

10

07832-00410

NUT

11

07822-00407

TUBE

12

20D-68-41970

ELBOW

12

281-35-13290

ELBOW

13

20G-68-13210

HOSE

14

20D-68-12150

NIPPLE

15

20D-68-41970

ELBOW

15

281-35-13290

ELBOW

16

20G-68-12340

HOSE

17

20D-68-12150

NIPPLE

18

08037-05016

GROMMET

19

08037-03614

GROMMET

20

20G-68-12320

BLOCK

21

01010-51025

BOLT

22

01602-21030

WASHER,SPRING

23

20G-68-11280

VALVE ASS'Y

24

176-62-15490

NIPPLE

25

20G-68-11310

SWITCH,LOW PRESSURE

26

08037-05022

GROMMET

27

205-62-53780

COVER

28

08034-00823

BAND

Выбрано товаров: 30