Запчасти Komatsu PW150-1 ТРАНСМИССИЯ (/) ХОД И ТРАНСМИССИЯ

Схема запчастей Komatsu PW150-1 - ТРАНСМИССИЯ (/) ХОД И ТРАНСМИССИЯ
FIT
1:1
100%

Артикул

Название

Примечание

Количество

|$0

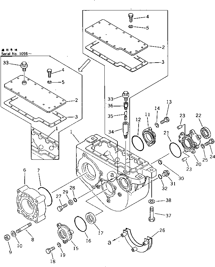
20G-14-00011

TRANSMISSION ASS'Y

|$2

20G-14-00010

TRANSMISSION ASS'Y

1

20G-14-11111

CASE

1

20G-14-11110

CASE

2

20D-14-41260

COVER

2

20G-14-11120

COVER

3

20G-14-11130

GASKET

4

01010-51030

BOLT

4

01010-51025

BOLT

5

01602-21030

WASHER,SPRING

6

20G-14-11170

SPACER

7

07000-02130

O-RING

8

20G-14-11180

STUD

9

01580-11411

NUT

10

01643-31445

WASHER

11

20G-14-12160

COVER

12

07000-02100

O-RING

13

01010-51030

BOLT

14

01602-21030

WASHER,SPRING

15

20G-14-12260

CAGE

16

07000-02110

O-RING

17

07012-00058

SEAL,OIL

18

01010-51030

BOLT

19

01602-21030

WASHER,SPRING

20

20G-14-12280

CAGE

21

07000-02110

O-RING

22

07012-00058

SEAL,OIL

23

04020-01024

PIN,DOWEL

24

01010-51035

BOLT

25

01602-21030

WASHER,SPRING

26

20G-14-12610

COVER

27

01090-51035

BOLT

28

07002-01023

O-RING

29

113-15-21260

WASHER

30

07046-03520

PLUG

31

07044-12412

PLUG

32

07002-02434

O-RING

33

07030-00252

BREATHER

34

124-15-41680

BOSS

35

124-15-41690

PIN

36

170-21-11190

NIPPLE

37

01010-52080

BOLT

38

01643-32060

WASHER

Выбрано товаров: 43