Запчасти Komatsu PW150-1 MACHINERY ОБСТАНОВКА (/) (ШУМОПОДАВЛ. ДЛЯ EC)(№8-) ОСНОВНАЯ РАМА¤ ШАССИ И КАБИНА

Схема запчастей Komatsu PW150-1 - MACHINERY ОБСТАНОВКА (/) (ШУМОПОДАВЛ. ДЛЯ EC)(№8-) ОСНОВНАЯ РАМА¤ ШАССИ И КАБИНА
FIT
1:1
100%

Артикул

Название

Примечание

Количество

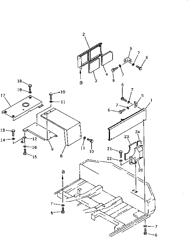
1

20G-54-11120

COVER

2

20G-54-11131

COVER

3

20G-54-14740

SHEET

4

20G-54-14730

SHEET

5

113-49-31160

PLATE

6

01010-51020

BOLT

7

01643-31032

WASHER

8

20G-54-11142

COVER

9

20G-54-11781

COVER

10

01010-51020

BOLT

11

01643-31032

WASHER

12

20G-54-11160

PLATE

13

01010-51020

BOLT

14

01643-31032

WASHER

15

01010-51025

BOLT

16

01643-31032

WASHER

17

20G-54-11882

COVER

18

01010-51040

BOLT

19

01643-31032

WASHER

20

21K-54-26390

BRACKET

21

01010-51220

BOLT

22

01643-31232

WASHER

23

21K-54-26420

SHEET

24

21K-54-26410

SHEET

Выбрано товаров: 24