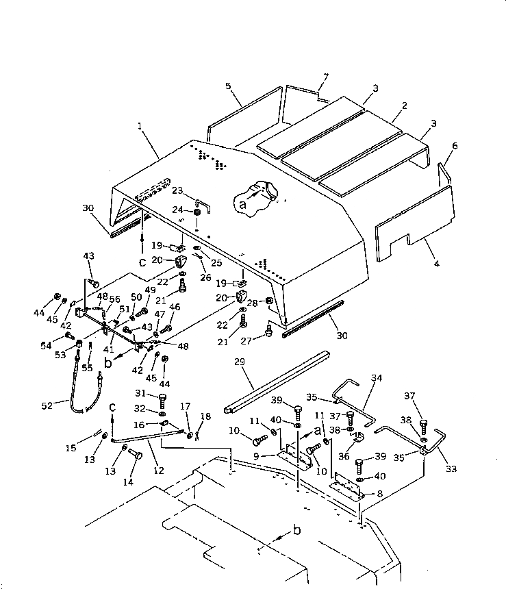
Запчасти Komatsu PW150-1 MACHINERY ОБСТАНОВКА (/) (ШУМОПОДАВЛ. ДЛЯ EC)(№8-) ОСНОВНАЯ РАМА¤ ШАССИ И КАБИНА

Схема запчастей Komatsu PW150-1 - MACHINERY ОБСТАНОВКА (/) (ШУМОПОДАВЛ. ДЛЯ EC)(№8-) ОСНОВНАЯ РАМА¤ ШАССИ И КАБИНА
FIT
1:1
100%

Артикул

Название

Примечание

Количество

1

20G-54-19111

HOOD

2

20G-54-19641

SHEET

3

20G-54-19631

SHEET

4

20G-54-19691

SHEET

5

21K-54-26840

SHEET

6

203-54-44811

CAP

7

20G-54-19611

SHEET

8

203-54-44950

HINGE,L.H.

9

203-54-44960

HINGE,R.H.

10

01010-51020

BOLT

11

01643-31032

WASHER

12

21K-54-25271

STAY

13

175-54-88110

WASHER

14

04205-11035

PIN

15

04050-13020

PIN,COTTER

16

21K-54-26280

BRACKET

17

01641-21016

WASHER

18

04050-13020

PIN,COTTER

19

203-54-44940

PLATE

20

203-54-42350

BRACKET

21

01010-51025

BOLT

22

01643-31032

WASHER

23

20G-54-11590

BAR

24

03037-01008

GROMMET

25

01643-31032

WASHER

26

04050-12020

PIN,COTTER

27

201-54-21360

CUSHION

28

01580-10504

NUT

29

20G-54-11531

SHEET

30

21K-54-26121

TRIM

31

01010-51025

BOLT

32

01643-31032

WASHER

33

21K-54-26250

BAR

34

21K-54-26260

BAR

35

203-54-42271

PLATE

36

203-54-42281

PLATE

37

01010-51020

BOLT

38

01643-31032

WASHER

39

01010-51020

BOLT

40

01643-31032

WASHER

41

20G-54-11771

LEVER

42

203-54-42320

LEVER

43

20T-54-26310

BOLT

44

01580-11210

NUT

45

01643-31232

WASHER

46

01010-51040

BOLT

47

01643-31032

WASHER

48

203-54-42340

SPRING

49

01010-51020

BOLT

50

01643-31032

WASHER

51

09467-00002

SPRING

52

20G-54-11790

CABLE

53

04210-20500

YOKE

54

04205-10514

PIN

55

04050-11210

PIN,COTTER

56

145-43-36550

SPRING

Выбрано товаров: 56