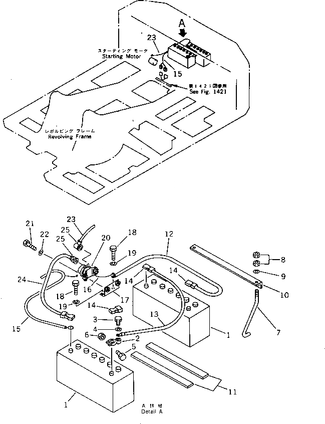
Запчасти Komatsu PW150-1 АККУМУЛЯТОР(№8-) КОМПОНЕНТЫ ДВИГАТЕЛЯ И ЭЛЕКТРИКА

Схема запчастей Komatsu PW150-1 - АККУМУЛЯТОР(№8-) КОМПОНЕНТЫ ДВИГАТЕЛЯ И ЭЛЕКТРИКА
FIT
1:1
100%

Артикул

Название

Примечание

Количество

1

08000-32212

BATTERY (115E41R)

2

08000-00000

TERMINAL¤ (+)

|2

08000-00001

TERMINAL¤ (-)

3

01050-51018

BOLT

4

01640-21016

WASHER

5

01010-50830

BOLT

6

01580-00806

NUT

7

120-06-31151

BOLT

8

01580-11008

NUT

9

01643-31032

WASHER

10

20G-06-11140

HOLDER

11

08007-03538

CUSHION

12

20G-06-14110

WIRE

13

08028-12045

CABLE

14

08038-22009

CAP

15

20G-06-14382

WIRE

16

20G-06-14440

WIRE

17

20G-06-11110

BRACKET

18

01010-50816

BOLT

19

01602-20825

WASHER,SPRING

20

22W-06-13220

SWITCH,BATTERY

21

01010-50830

BOLT

22

01602-20825

WASHER,SPRING

23

08028-12065

CABLE

24

08028-12035

CABLE

25

08038-04030

CAP

Выбрано товаров: 26