Запчасти Komatsu PW150-1 P.P.C. КОНТУР РАСПРЕДЕЛИТ. КЛАПАНL УПРАВЛ-Е РАБОЧИМ ОБОРУДОВАНИЕМ

Схема запчастей Komatsu PW150-1 - P.P.C. КОНТУР РАСПРЕДЕЛИТ. КЛАПАНL УПРАВЛ-Е РАБОЧИМ ОБОРУДОВАНИЕМ
FIT
1:1
100%

Артикул

Название

Примечание

Количество

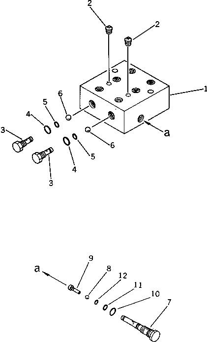
|1

702-19-12000

CHECK VALVE ASS'Y,R.H.

1

702-19-12110

BLOCK

2

07042-30108

PLUG

3

702-19-12120

PLUG

4

07002-11423

O-RING

5

07000-11007

O-RING

6

04260-00793

BALL

|7

702-19-11000

SHUTTLE VALVE GROUP

7

PLUG

8

BALL

9

SEAT

10

07002-11423

O-RING

11

07000-11009

O-RING

12

07000-11007

O-RING

Выбрано товаров: 14