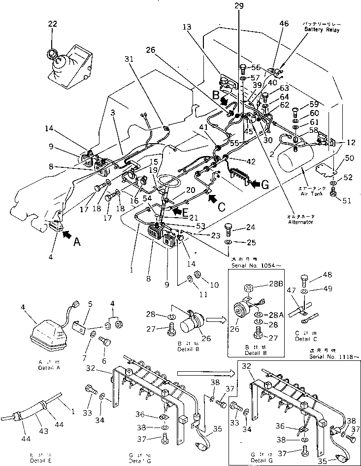
Запчасти Komatsu PW150-1 ЭЛЕКТРИКА (/) КОМПОНЕНТЫ ДВИГАТЕЛЯ И ЭЛЕКТРИКА

Схема запчастей Komatsu PW150-1 - ЭЛЕКТРИКА (/) КОМПОНЕНТЫ ДВИГАТЕЛЯ И ЭЛЕКТРИКА
FIT
1:1
100%

Артикул

Название

Примечание

Количество

1

20G-06-14225

WIRING

|1

20G-06-14224

WIRING

2

20G-06-14214

HARNESS

|2

20G-06-14213

HARNESS

|2

22W-06-13590

DIODE

|2

22W-06-13430

DIODE

3

20G-06-14252

WIRE

4

22W-06-12381

LAMP ASS'Y

|4

22W-06-12170

BULB¤ 24V

5

20G-06-13320

BRACKET

6

01010-51630

BOLT

7

01643-31645

WASHER

8

20G-06-13350

LAMP

|8

20G-06-13150

LAMP

|8

20G-06-13360

BULB¤ 50/60W

9

20G-06-13110

LAMP ASS'Y

|9

08104-12420

BULB¤ 25/10W

|9

1C13E110-0010

LENS

10

01580-10504

NUT

11

01601-20513

WASHER

12

20G-06-13210

LAMP ASS'Y

|12

08105-12420

BULB¤ 25W

|12

08104-12420

BULB¤ 25/10W

|12

1C14G037-1001

LENS

13

20G-06-13220

LAMP ASS'Y

|13

08105-12420

BULB¤ 25W

|13

08104-12420

BULB¤ 25/10W

|13

1C14G037-1001

LENS

14

20D-06-12430

LAMP ASS'Y

|14

08102-02403

BULB¤ 3W

|14

1C15F080-1001

LENS

15

08160-52410

HORN

|15

205-06-64430

HORN

16

08160-52400

HORN

17

01010-50816

BOLT

18

01641-20812

WASHER

19

20G-06-12350

SWITCH ASS'Y

20

20G-06-12370

SWITCH

21

362-43-15360

BAND

22

203-06-42141

SWITCH,HORN

|22

203-06-42140

SWITCH,HORN

|22

205-06-71360

SWITCH

23

20G-06-14320

WIRE

24

01010-50812

BOLT

25

01602-20825

WASHER

26

175-06-51210

BUZZER,(FOR JAPAN)

|26

08165-22400

BUZZER,(FOR JAPAN)

27

01220-40616

SCREW

|27

01010-51016

BOLT

28

01602-20619

WASHER,SPRING

|28

01602-21030

WASHER

28A

01640-20610

WASHER

28B

01580-10605

NUT

29

08073-00505

SWITCH

30

08620-00000

SENSOR

31

08073-00503

SWITCH

32

20G-06-15142

PLATE

|32

20G-06-15141

PLATE

33

01010-51025

BOLT

34

01602-21030

WASHER

35

203-06-41661

SWITCH,SWING BRAKE PRESSURE

|35

203-06-41660

SWITCH,SWING BRAKE PRESSURE

36

08036-01814

CLIP

37

01010-51016

BOLT

38

01602-21030

WASHER

39

08028-12065

CABLE

40

08038-04030

CAP

41

08037-03620

GROMMET

42

08037-05022

GROMMET

43

203-04-31230

COVER

44

08034-00519

BAND

45

08038-00518

CAP

46

08038-04030

CAP,(SEE FIG.1401)

47

21T-62-25740

CLIP

48

01010-51016

BOLT

49

01602-21030

WASHER,SPRING

50

20G-06-13270

COVER,REAR LAMP

51

01010-50610

BOLT

52

01602-20619

WASHER,SPRING

53

08034-00310

BAND

54

09415-02520

CAP

55

08036-21814

CLIP

56

01010-51016

BOLT

57

01602-21030

WASHER,SPRING

58

283-06-17130

CLIP

59

01220-40616

SCREW

60

01602-20619

WASHER,SPRING

61

01641-20608

WASHER

62

08036-30814

CLIP

63

01010-51016

BOLT

64

01602-21030

WASHER,SPRING

Выбрано товаров: 91