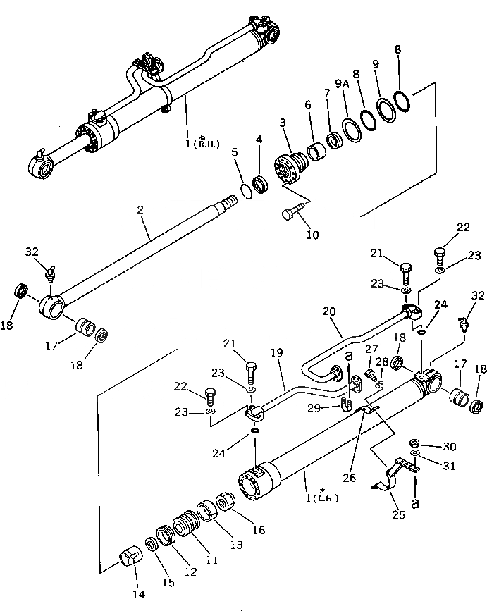
Запчасти Komatsu PW150-1 ЦИЛИНДР СТРЕЛЫ УПРАВЛ-Е РАБОЧИМ ОБОРУДОВАНИЕМ

Схема запчастей Komatsu PW150-1 - ЦИЛИНДР СТРЕЛЫ УПРАВЛ-Е РАБОЧИМ ОБОРУДОВАНИЕМ
FIT
1:1
100%

Артикул

Название

Примечание

Количество

|1

20G-63-52102

BOOM CYLINDER ASS'Y,L.H.

|1

20G-63-52101

BOOM CYLINDER ASS'Y,L.H.

|1

20G-63-52100

BOOM CYLINDER ASS'Y,L.H.

|1

20G-63-52202

BOOM CYLINDER ASS'Y,R.H.

|1

20G-63-52201

BOOM CYLINDER ASS'Y,R.H.

|1

20G-63-52200

BOOM CYLINDER ASS'Y,R.H.

|1

20G-63-52110

CYLINDER SUB ASS'Y

1

20G-63-52141

CYLINDER

2

20G-63-52121

ROD,PISTON

3

707-28-11271

HEAD,CYLINDER

|3

707-28-11270

HEAD,CYLINDER

4

07016-20708

SEAL,DUST (K3)

|4

144-63-95170

SEAL,DUST (K3)

5

07179-00093

RING,SNAP

6

07177-07030

BUSHING

7

707-51-70211

PACKING,ROD (K3)

8

07000-12105

O-RING (K3)

9

07146-02106

RING,BACK-UP (K3)

9A

707-35-91111

RING,BACK-UP (K3)

|9A

707-35-91110

RING,BACK-UP (K3)

|9A

07146-02106

RING,BACK-UP (K3)

10

01010-81655

BOLT

|10

01010-51655

BOLT

11

707-36-11361

PISTON

|11

707-36-11360

PISTON

12

707-44-11180

RING,PISTON (K3)

|12

707-44-11080

RING,PISTON (K3)

13

07155-01125

RING,WEAR (K3)

14

707-71-50871

PLUNGER

15

707-40-11370

SPACER

16

07165-15252

NUT

17

707-76-70040

BUSHING

18

07145-00070

SEAL,DUST (K3)

19

20G-63-52172

TUBE,L.H.

|19

20G-63-52171

TUBE,L.H.

|19

20G-63-52170

TUBE,L.H.

|19

20G-63-52272

TUBE,R.H.

|19

20G-63-52271

TUBE,R.H.

|19

20G-63-52270

TUBE,R.H.

20

20G-63-52181

TUBE,L.H.

|20

20G-63-52180

TUBE,L.H.

|20

20G-63-52281

TUBE,R.H.

|20

20G-63-52280

TUBE,R.H.

21

01010-50855

BOLT

22

01010-50845

BOLT

23

01602-20825

WASHER

24

07000-13030

O-RING (K3)

25

707-88-99141

BRACKET

|25

707-88-99140

BRACKET

26

707-88-99110

BAND

27

01010-51035

BOLT

|27

01010-51030

BOLT

28

01602-21030

WASHER

29

07283-22738

CLIP

30

01599-01011

NUT

31

01643-31032

WASHER

32

07020-00675

FITTING,GREASE

Выбрано товаров: 57