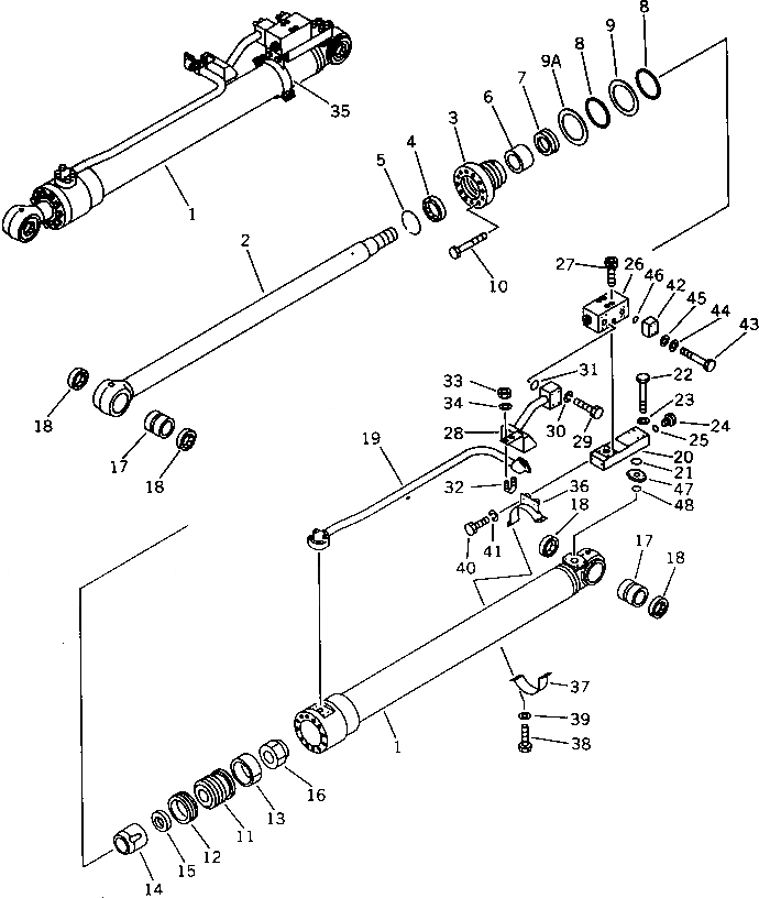
Запчасти Komatsu PW150-1 ЦИЛИНДР СТРЕЛЫ(ЗАКРЫВАЮЩИЙ КЛАПАНДЛЯ РАБОЧ. ОБОРУД-Я) УПРАВЛ-Е РАБОЧИМ ОБОРУДОВАНИЕМ

Схема запчастей Komatsu PW150-1 - ЦИЛИНДР СТРЕЛЫ(ЗАКРЫВАЮЩИЙ КЛАПАНДЛЯ РАБОЧ. ОБОРУД-Я) УПРАВЛ-Е РАБОЧИМ ОБОРУДОВАНИЕМ
FIT
1:1
100%

Артикул

Название

Примечание

Количество

|1

20G-63-52110

CYLINDER SUB ASS'Y

1

20G-63-52141

CYLINDER

2

20G-63-52121

ROD,PISTON

3

707-28-11271

HEAD,CYLINDER

|3

707-28-11270

HEAD,CYLINDER

4

07016-20708

SEAL,DUST (K3)

|4

144-63-95170

SEAL,DUST (K3)

5

07179-00093

RING,SNAP

6

07177-07030

BUSHING

7

707-51-70211

PACKING,ROD (K3)

8

07000-12105

O-RING (K3)

9

07146-02106

RING,BACK-UP (K3)

9A

707-35-91111

RING,BACK-UP (K3)

|9A

707-35-91110

RING,BACK-UP (K3)

10

01010-51655

BOLT

11

707-36-11361

PISTON

|11

707-36-11360

PISTON

12

707-44-11180

RING,PISTON (K3)

13

07155-01125

RING,WEAR (K3)

14

707-71-50871

PLUNGER

15

707-40-11370

SPACER

16

07165-15252

NUT

17

707-76-70040

BUSHING

18

07145-00070

SEAL,DUST (K3)

19

20G-62-16180

TUBE,L.H.

|19

20G-62-16170

TUBE,R.H.

20

21P-62-11511

BLOCK

21

07000-13030

O-RING

22

01010-50860

BOLT

23

01643-30823

WASHER

24

195-78-22640

PLUG

25

07002-12034

O-RING

26

21P-60-11110

VALVE,L.H.

|26

21P-60-11120

VALVE,R.H.

27

01252-41045

BOLT

28

21P-62-12230

TUBE,R.H.

|28

21P-62-12220

TUBE,L.H.

29

01010-51065

BOLT

30

01602-21030

WASHER,SPRING

31

07000-13030

O-RING

32

07283-22738

CLIP

33

01599-01011

NUT

34

01643-31032

WASHER

35

21P-62-11531

BAND

36

21P-62-12280

BAND

37

21P-62-11240

BAND

38

01010-51035

BOLT

39

01602-21030

WASHER,SPRING

40

01010-51040

BOLT

41

01602-21030

WASHER,SPRING

42

21P-62-11542

BLOCK

43

01010-50850

BOLT

44

01602-20825

WASHER,SPRING

45

01643-50823

WASHER

46

07000-02021

O-RING

47

07373-10600

SPACER

48

07000-13025

O-RING

Выбрано товаров: 0