Запчасти Komatsu PW150-1 ЦИЛИНДР РУКОЯТИ(ЗАКРЫВАЮЩИЙ КЛАПАНДЛЯ РАБОЧ. ОБОРУД-Я) УПРАВЛ-Е РАБОЧИМ ОБОРУДОВАНИЕМ

Схема запчастей Komatsu PW150-1 - ЦИЛИНДР РУКОЯТИ(ЗАКРЫВАЮЩИЙ КЛАПАНДЛЯ РАБОЧ. ОБОРУД-Я) УПРАВЛ-Е РАБОЧИМ ОБОРУДОВАНИЕМ
FIT
1:1
100%

Артикул

Название

Примечание

Количество

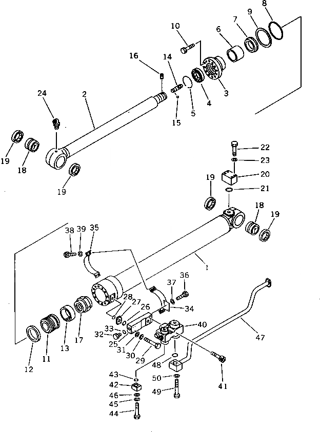
1

20G-63-62141

CYLINDER

2

20G-63-62121

ROD,PISTON

3

707-27-13771

HEAD,CYLINDER

4

195-63-94170

SEAL,DUST (K4)

5

07179-00113

RING,SNAP

6

07177-09040

BUSHING

7

707-51-90211

PACKING,ROD (K4)

8

07000-12125

O-RING (K4)

9

07146-02126

RING,BACK-UP (K4)

10

01010-51655

BOLT

11

707-36-13460

PISTON

12

707-44-13080

RING,PISTON (K4)

13

07155-01330

RING,WEAR (K4)

14

707-71-50251

PLUNGER

15

04260-00635

BALL

16

707-71-91250

SCREW

17

707-68-10680

NUT

18

707-76-80010

BUSHING

19

07145-00080

SEAL,DUST (K4)

20

20G-63-62180

ELBOW

21

07000-13035

O-RING (K4)

22

01010-51080

BOLT

23

01602-21030

WASHER

24

07020-00900

FITTING,GREASE

25

21P-62-11511

BLOCK

26

07000-13030

O-RING

27

07373-00600

SPACER

28

07000-13025

O-RING

29

01010-50870

BOLT

30

01602-20825

WASHER,SPRING

31

01643-30823

WASHER

32

195-78-22640

PLUG

33

07002-12034

O-RING

34

20G-62-16150

BAND

35

20G-62-16140

BAND

36

01010-51025

BOLT

37

01643-31032

WASHER

38

01010-51035

BOLT

39

01602-21030

WASHER,SPRING

40

21P-60-11140

VALVE

41

01252-41045

BOLT

42

21P-62-11542

BLOCK

43

07000-02021

O-RING

44

01010-50850

BOLT

45

01602-20825

WASHER,SPRING

46

01643-50823

WASHER

47

20G-62-16160

TUBE

48

07000-13030

O-RING

49

01010-51065

BOLT

50

01602-21030

WASHER,SPRING

Выбрано товаров: 0