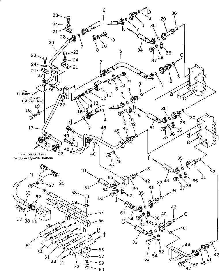
Запчасти Komatsu PW150-1 ГИДРОЛИНИЯ (8/8) (КЛАПАН - ЦИЛИНДР СТРЕЛЫ)(№-) УПРАВЛ-Е РАБОЧИМ ОБОРУДОВАНИЕМ

Схема запчастей Komatsu PW150-1 - ГИДРОЛИНИЯ (8/8) (КЛАПАН - ЦИЛИНДР СТРЕЛЫ)(№-) УПРАВЛ-Е РАБОЧИМ ОБОРУДОВАНИЕМ
FIT
1:1
100%

Артикул

Название

Примечание

Количество

1

20G-62-11680

FLANGE

2

21K-62-21240

VALVE ASS'Y

3

07002-12434

O-RING

4

07097-00605

HOSE

5

07098-00607

HOSE

6

07097-00606

HOSE

7

07000-13025

O-RING

8

07371-30638

FLANGE,SPLIT

9

01010-50830

BOLT

10

01643-50823

WASHER

|11

20G-62-12601

VALVE ASS'Y

11

20G-62-12550

BODY

12

21K-60-11350

POPPET

13

203-60-21260

SPRING

14

203-60-21270

SEAT

15

04065-02212

RING,SNAP

16

07000-13030

O-RING

17

20G-62-11251

TUBE

18

01010-50855

BOLT

19

01602-20825

WASHER,SPRING

20

20G-62-11241

TUBE

21

21K-62-12240

CLAMP

22

21K-62-12250

CUSHION

23

01010-51250

BOLT

24

01602-21236

WASHER,SPRING

25

20G-62-11850

BRACKET

26

01010-51225

BOLT

27

01602-21236

WASHER,SPRING

28

20G-62-12500

VALVE ASS'Y

29

20G-62-11740

FLANGE

30

07002-12434

O-RING

31

21K-62-21220

FLANGE

32

07002-12434

O-RING

33

07097-00619

HOSE

34

07097-00618

HOSE

35

07000-13025

O-RING

36

07371-30638

FLANGE,SPLIT

37

01010-50830

BOLT

38

01643-50823

WASHER

39

20G-62-11270

FLANGE,R.H.

40

20G-62-11260

FLANGE,L.H.

41

20G-62-11680

FLANGE

42

07002-12434

O-RING

43

20G-62-12331

TUBE,R.H.

44

20G-62-12320

TUBE,L.H.

45

07000-13030

O-RING

46

07000-13025

O-RING

47

01010-50835

BOLT

48

01010-50850

BOLT

49

01010-50840

BOLT

50

01602-20825

WASHER,SPRING

51

07097-00619

HOSE

52

07371-30638

FLANGE,SPLIT

53

01010-50830

BOLT

54

01643-50823

WASHER

55

07000-13025

O-RING

56

20G-62-14191

CLAMP

57

20G-62-14250

CLAMP

58

01010-51080

BOLT

59

01643-31032

WASHER

60

01598-01011

NUT

61

203-62-32450

COVER

|61

203-62-32440

COVER

Выбрано товаров: 63