Запчасти Komatsu PW150-1 ГИДРОЛИНИЯ (ОПОРА) УПРАВЛ-Е РАБОЧИМ ОБОРУДОВАНИЕМ

Схема запчастей Komatsu PW150-1 - ГИДРОЛИНИЯ (ОПОРА) УПРАВЛ-Е РАБОЧИМ ОБОРУДОВАНИЕМ
FIT
1:1
100%

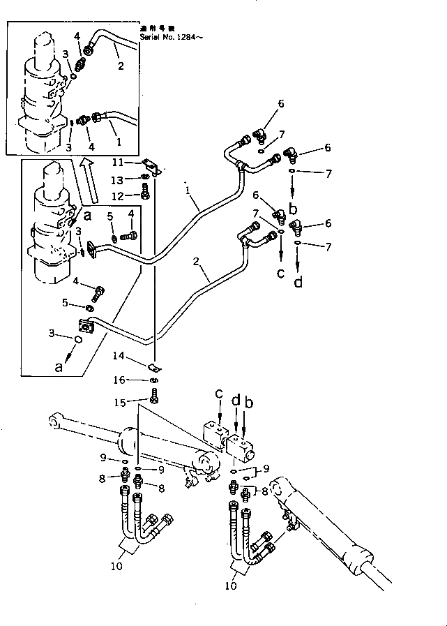
Артикул

Название

Примечание

Количество

1

20G-62-13283

TUBE

|1

20G-62-13281

TUBE

2

20G-62-13293

TUBE

|2

20G-62-13291

TUBE

3

07002-12034

O-RING

|3

07000-13022

O-RING

4

07230-20315

UNION

|4

01010-50830

BOLT

5

01602-20825

WASHER,SPRING

6

114-62-23210

ELBOW

|6

07235-10522

ELBOW

7

07002-12434

O-RING

8

114-62-23110

NIPPLE

|8

07230-20522

UNION

9

07002-12434

O-RING

10

07121-20306

HOSE

|10

07121-20506

HOSE

11

20G-62-13612

PLATE

|11

20G-62-13611

PLATE

12

01010-51020

BOLT

13

01602-21030

WASHER,SPRING

14

114-62-36160

PLATE

|14

207-62-16760

CLAMP

15

01010-51020

BOLT

16

01602-21030

WASHER,SPRING

Выбрано товаров: 25