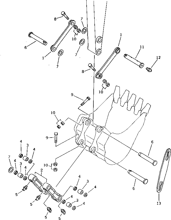
Запчасти Komatsu PW150-1 СОЕДИНЕНИЕ КОВША РАБОЧЕЕ ОБОРУДОВАНИЕ

Схема запчастей Komatsu PW150-1 - СОЕДИНЕНИЕ КОВША РАБОЧЕЕ ОБОРУДОВАНИЕ
FIT
1:1
100%

Артикул

Название

Примечание

Количество

1

21K-70-13122

LINK

|2

20G-70-00030

LINK ASS'Y,L.H.

|2

20G-70-00040

LINK ASS'Y,R.H.

2

20G-70-13110

LINK,L.H.

|2

20G-70-13120

LINK,R.H.

3

21K-70-13150

BUSHING

4

21K-70-12180

SEAL

5

07020-00675

FITTING,GREASE

6

21K-70-13141

PIN

7

203-70-24170

SPACER¤ 1.0MM

8

01019-11640

BOLT

9

01011-51660

BOLT

10

01580-11613

NUT

11

20G-70-13151

PIN

12

07020-00000

FITTING,GREASE

13

20G-70-13130

LINK,(FOR FIXING)

Выбрано товаров: 16