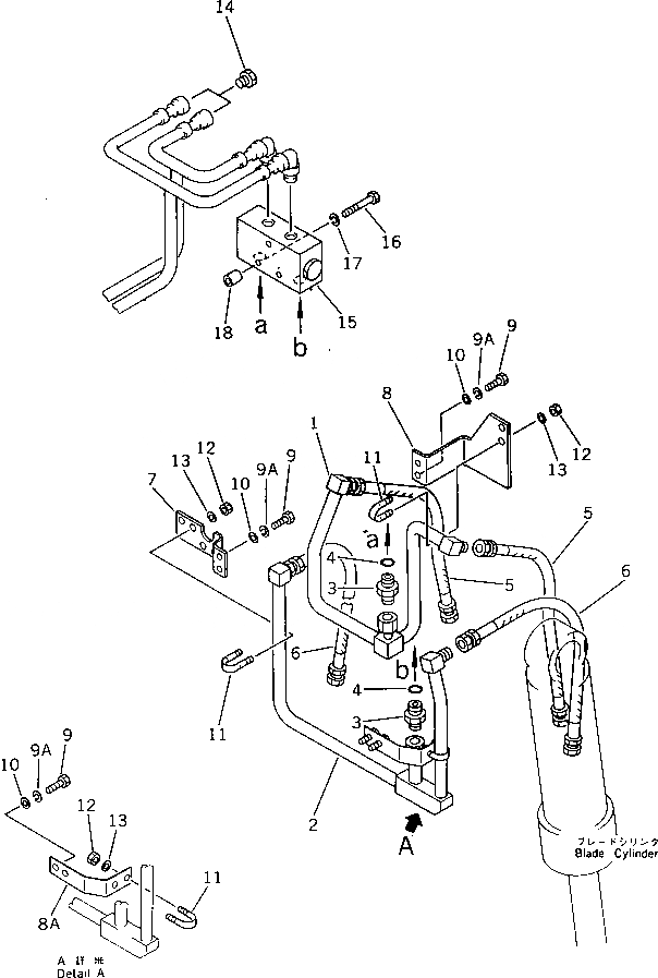
Запчасти Komatsu PW150-1 ГИДРОЛИНИЯ (ДЛЯ ОТВАЛ) РАБОЧЕЕ ОБОРУДОВАНИЕ

Схема запчастей Komatsu PW150-1 - ГИДРОЛИНИЯ (ДЛЯ ОТВАЛ) РАБОЧЕЕ ОБОРУДОВАНИЕ
FIT
1:1
100%

Артикул

Название

Примечание

Количество

1

20G-910-1240

TUBE

2

20G-910-1251

TUBE

|2

20G-910-1250

TUBE

3

114-62-23110

NIPPLE

|3

07230-20522

UNION

4

07002-12434

O-RING

5

07121-20303

HOSE

|5

07121-20503

HOSE

6

07121-20304

HOSE

|6

07121-20504

HOSE

7

20G-910-1260

BRACKET

8

20G-910-1270

BRACKET

8A

20G-910-114

PLATE

|8A

20G-910-114

PLATE

9

01010-51025

BOLT

9A

01602-21030

WASHER,SPRING

10

01643-31032

WASHER

11

07283-22236

CLIP

12

01599-01011

NUT

13

01643-31032

WASHER

14

07376-50315

PLUG

|14

07376-50522

PLUG

15

20D-60-11900

CHECK VALVE ASS'Y

16

01010-50895

BOLT

17

01602-20825

WASHER,SPRING

18

202-54-11270

COLLAR

Выбрано товаров: 26