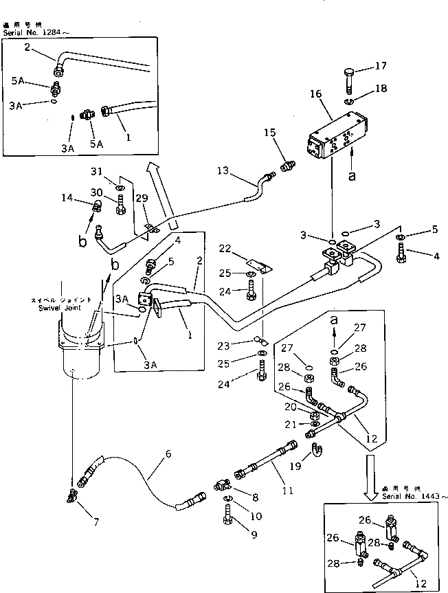
Запчасти Komatsu PW150-1 ПЕРЕДН. ОПОРА ТРУБЫ (/) ОПЦИОННЫЕ КОМПОНЕНТЫ

Схема запчастей Komatsu PW150-1 - ПЕРЕДН. ОПОРА ТРУБЫ (/) ОПЦИОННЫЕ КОМПОНЕНТЫ
FIT
1:1
100%

Артикул

Название

Примечание

Количество

1

20G-911-2111

TUBE

|1

20G-911-2110

TUBE

2

20G-911-2121

TUBE

|2

20G-911-2120

TUBE

3

07000-13025

O-RING

3A

07002-12034

O-RING

|3A

07000-13022

O-RING

4

01010-50835

BOLT

|4

01010-50830

BOLT

5

01602-20825

WASHER,SPRING

|5

01602-20825

WASHER,SPRING

5A

07230-20315

UNION

6

07102-20307

HOSE

7

20G-62-13440

TEE

8

20G-911-2220

NIPPLE

9

01010-51020

BOLT

10

01602-21030

WASHER,SPRING

11

07102-20203

HOSE

12

20G-911-2211

TUBE

|12

20G-911-2210

TUBE

13

20G-911-3210

TUBE

14

234-975-4810

ELBOW

15

07213-51013

CONNECTOR

16

20G-60-12130

VALVE ASS'Y

17

01011-51000

BOLT

18

01602-21030

WASHER,SPRING

19

07283-21022

CLIP

20

01598-00608

NUT

21

01643-30623

WASHER

22

20G-911-2230

PLATE

23

207-62-16760

CLAMP

24

01010-51020

BOLT

25

01602-21030

WASHER,SPRING

26

205-62-67230

ELBOW

|26

07231-30210

ELBOW

27

07002-01423

O-RING

28

07042-70108

PLUG

|28

07239-21408

NUT

29

07282-01048

CLAMP

30

01010-50612

BOLT

31

01602-20619

WASHER,SPRING

Выбрано товаров: 41