Запчасти Komatsu PW150-1 ПЕРЕДН. ОПОРА ТРУБЫ (/) ОПЦИОННЫЕ КОМПОНЕНТЫ

Схема запчастей Komatsu PW150-1 - ПЕРЕДН. ОПОРА ТРУБЫ (/) ОПЦИОННЫЕ КОМПОНЕНТЫ
FIT
1:1
100%

Артикул

Название

Примечание

Количество

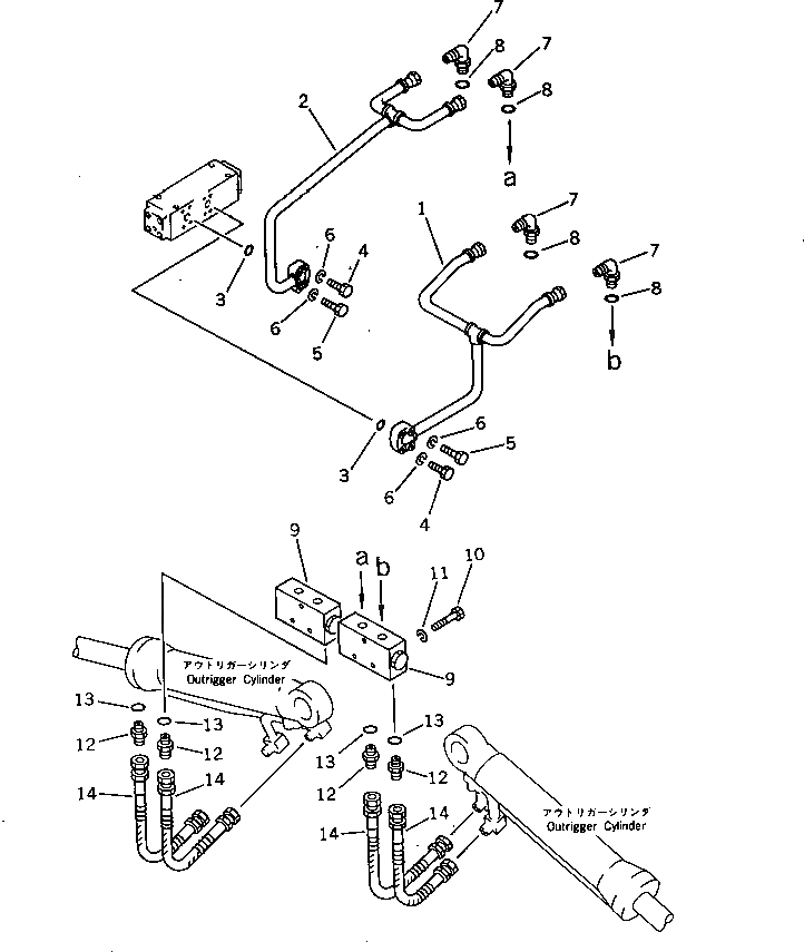
1

20G-911-2131

TUBE

|1

20G-911-2130

TUBE

2

20G-911-2141

TUBE

|2

20G-911-2140

TUBE

3

07000-13025

O-RING

4

01010-50840

BOLT

5

01010-50845

BOLT

6

01602-20825

WASHER,SPRING

7

114-62-23210

ELBOW

|7

07235-10522

ELBOW

8

07002-12434

O-RING

9

20D-60-11900

CHECK VALVE ASS'Y

10

01010-50875

BOLT

11

01602-20825

WASHER,SPRING

12

114-62-23110

NIPPLE

|12

07230-20522

UNION

13

07002-12434

O-RING

14

07121-20306

HOSE

|14

07121-20506

HOSE

Выбрано товаров: 0