Запчасти Komatsu PW150-1 ГИДРОЛИНИЯ (/) (ИЗ БАКА В НАСОС - КЛАПАН) ХОД И ТРАНСМИССИЯ

Схема запчастей Komatsu PW150-1 - ГИДРОЛИНИЯ (/) (ИЗ БАКА В НАСОС - КЛАПАН) ХОД И ТРАНСМИССИЯ
FIT
1:1
100%

Артикул

Название

Примечание

Количество

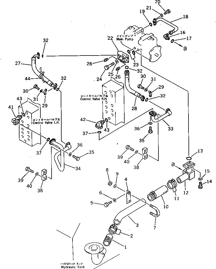
1

07260-27416

HOSE

2

07281-01029

CLAMP

3

20G-62-11111

TUBE

4

20G-62-11811

BRACKET

5

01010-51030

BOLT

6

01643-31032

WASHER

7

07283-27663

CLIP

8

01599-01011

NUT

9

01643-31032

WASHER

10

07260-27432

HOSE

11

07281-01029

CLAMP

12

20G-62-11131

TUBE

13

07000-02070

O-RING

14

01010-51230

BOLT

15

01602-21236

WASHER,SPRING

16

07235-10628

ELBOW

17

07002-02434

O-RING

18

20G-62-11151

TUBE

19

07000-03028

O-RING

20

01010-51030

BOLT

21

01602-21030

WASHER,SPRING

22

20G-62-11960

BLOCK

23

07000-13030

O-RING

24

01010-50880

BOLT

25

01602-20825

WASHER,SPRING

26

07042-10108

PLUG

27

07084-01009

HOSE

28

07085-01006

HOSE

29

07371-31049

FLANGE

30

07372-21035

BOLT

31

01643-51032

WASHER

32

07000-13032

O-RING

33

20G-62-11193

TUBE

|33

20G-62-11192

TUBE

34

20G-62-11182

TUBE

35

01010-51035

BOLT

36

01602-21030

WASHER,SPRING

37

07000-13035

O-RING

38

205-62-54464

CLAMP

39

01010-51285

BOLT

40

01643-31232

WASHER

41

20G-62-12490

ELBOW

|41

20G-62-12470

ELBOW

42

20G-62-12940

ELBOW

|42

20G-62-11650

ELBOW

43

07002-13334

O-RING

44

08034-00519

BAND

Выбрано товаров: 47