Запчасти Komatsu PW150-1 ДРЕНАЖН. ТРУБЫ (/) (КОМПОНЕНТЫ (ОБСЛУЖИВ-Е)) (ДЛЯ ЯПОН.) СПЕЦ. APPLICATION ЧАСТИ¤ МАРКИРОВКА¤ ИНСТРУМЕНТ И РЕМКОМПЛЕКТЫ

Схема запчастей Komatsu PW150-1 - ДРЕНАЖН. ТРУБЫ (/) (КОМПОНЕНТЫ (ОБСЛУЖИВ-Е)) (ДЛЯ ЯПОН.) СПЕЦ. APPLICATION ЧАСТИ¤ МАРКИРОВКА¤ ИНСТРУМЕНТ И РЕМКОМПЛЕКТЫ
FIT
1:1
100%

Артикул

Название

Примечание

Количество

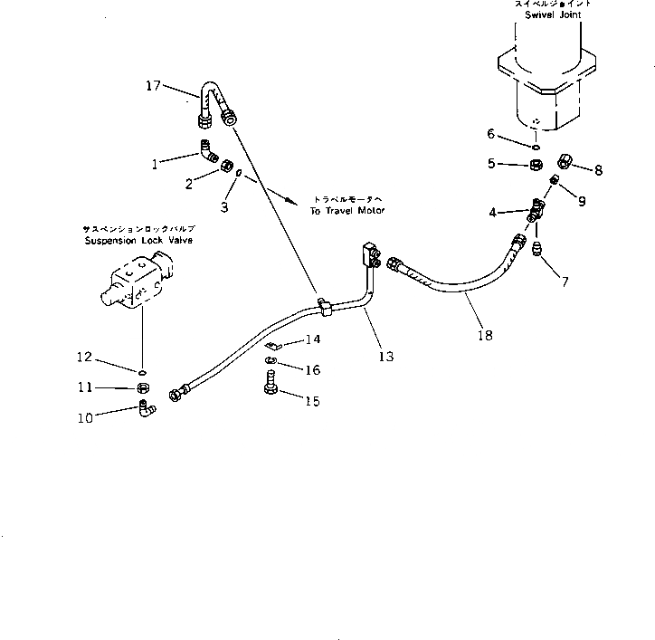
1

07232-30315

ELBOW

2

07239-22009

NUT

3

07002-12034

O-RING

4

20G-62-13440

TEE

5

07239-22009

NUT

6

07002-12034

O-RING

7

07042-20108

PLUG

8

07221-20315

NUT

9

07222-00312

PLUG

10

07232-30315

ELBOW

11

07239-22009

NUT

12

07002-12034

O-RING

13

20G-62-19260

TUBE

14

22W-62-18650

CLIP

15

01010-51020

BOLT

16

01602-21030

WASHER,SPRING

17

07102-20304

HOSE

18

07102-20306

HOSE

19

07109-20303

HOSE

20

20G-62-19241

TUBE

21

144-865-6260

ELBOW

22

07238-10315

CONNECTOR

23

07102-20204

HOSE

24

20G-62-19280

TUBE

25

07238-10210

CONNECTOR

26

234-60-22672

ELBOW

27

07230-20315

UNION

28

07002-12034

O-RING

29

08034-00414

BAND

Выбрано товаров: 29