Запчасти Komatsu PW150ES-6K ОБОГРЕВАТЕЛЬ. В СБОРЕ (ВНУТР. ЧАСТИ)(№K-) КАБИНА ОПЕРАТОРА И СИСТЕМА УПРАВЛЕНИЯ

Схема запчастей Komatsu PW150ES-6K - ОБОГРЕВАТЕЛЬ. В СБОРЕ (ВНУТР. ЧАСТИ)(№K-) КАБИНА ОПЕРАТОРА И СИСТЕМА УПРАВЛЕНИЯ
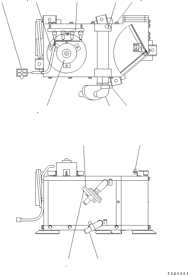
1
2
3
4
5
6
7
8
9
10
11
12
13
14
15
FIT
1:1
100%

Артикул

Название

Примечание

Количество

|1

20Y-977-K392

HEATER ASS'Y

1

20Y-977-K470

FAN

2

20Y-977-K460

CLIP

3

20Y-977-K450

MOTOR

4

20Y-977-K440

TUBE

5

20Y-977-K430

ELBOW

6

20Y-977-K330

CLIP

7

20Y-977-K220

VALVE

8

20Y-977-K211

RADIATOR

9

203-977-K260

CLAMP

10

203-977-K250

NUT

11

20Y-977-K180

RESISTOR

12

203-977-K220

CLIP

13

08056-00471

CONNECTOR

14

01643-30623

WASHER

15

01010-80612

BOLT

Выбрано товаров: 16