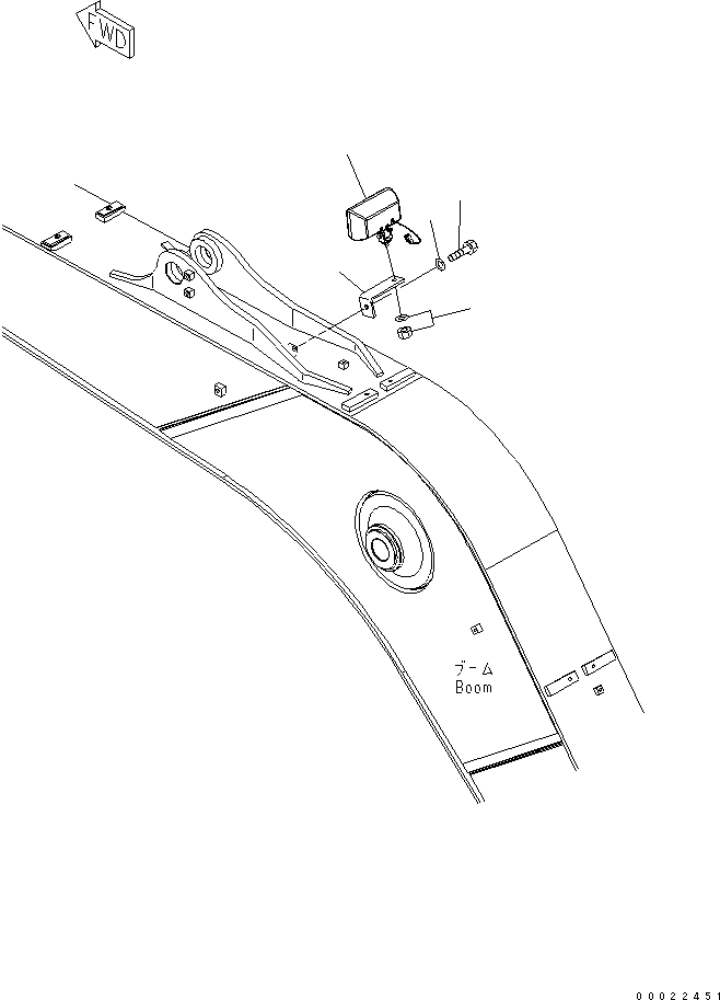
Запчасти Komatsu PW160-7 ONE-ЧАСТИ СТРЕЛА (RHS РАБОЧ. ОСВЕЩЕНИЕ) T РАБОЧЕЕ ОБОРУДОВАНИЕ

Схема запчастей Komatsu PW160-7 - ONE-ЧАСТИ СТРЕЛА (RHS РАБОЧ. ОСВЕЩЕНИЕ) T РАБОЧЕЕ ОБОРУДОВАНИЕ
1
3
4
1
2
FIT
1:1
100%

Артикул

Название

Примечание

Количество

1

20Y-06-K2680

WORK LAMP ASSEMBLY

2

203-06-56410

BRACKET

3

01010-81425

BOLT

4

01643-31445

WASHER

Выбрано товаров: 4