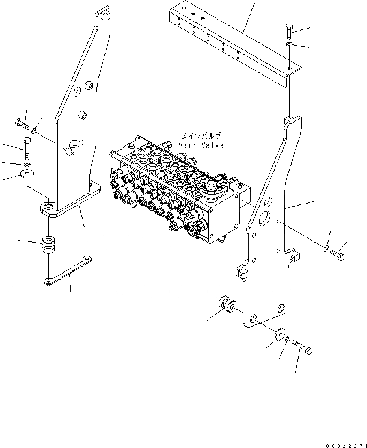
Запчасти Komatsu PW160-7E0 ОСНОВН. КЛАПАН КРЕПЛЕНИЕ H ГИДРАВЛИКА

Схема запчастей Komatsu PW160-7E0 - ОСНОВН. КЛАПАН КРЕПЛЕНИЕ H ГИДРАВЛИКА
9
10
11
1
4
3
14
13
12
2
16
5
6
12
13
15
7
8
FIT
1:1
100%

Артикул

Название

Примечание

Количество

1

20G-62-41940

BRACKET

|$2

20G-S95-H340

BRACKET (WITH AUTO GREASE)

2

20G-62-32970

MOUNT ASSEMBLY

3

01010-81640

BOLT

4

01643-31645

WASHER

5

20G-62-41930

BRACKET

|$7

20G-62-34950

BRACKET, 7-SPOOL

|$8

20G-62-34960

BRACKET, 8-SPOOL/9-SPOOL

6

20G-62-32970

MOUNT ASSEMBLY

7

01010-81050

BOLT

8

01643-31032

WASHER

9

20G-62-32732

BRACKET

10

01010-81240

BOLT

11

01643-31232

WASHER

12

20G-62-32751

PLATE

13

01643-31232

WASHER

14

01010-81285

BOLT

15

01010-81290

BOLT

16

20G-62-32980

PLATE

Выбрано товаров: 19