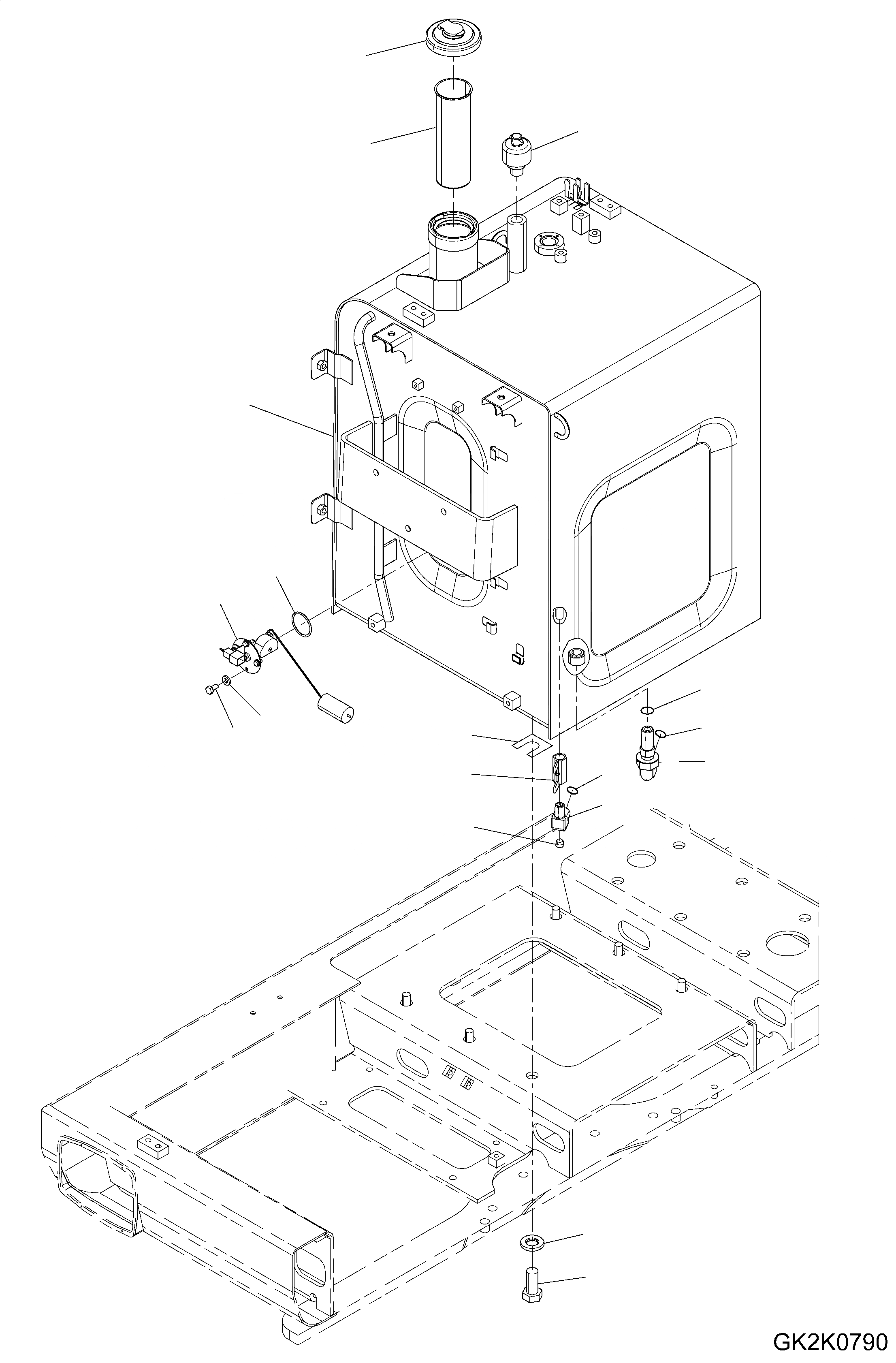
Запчасти Komatsu PW160-8 ТОПЛИВН. БАК. ТОПЛИВН. БАК.

Схема запчастей Komatsu PW160-8 - ТОПЛИВН. БАК. ТОПЛИВН. БАК.
11
14
13
10
5
9
6
4
2
17
1
3
4
8
12
7
16
15
FIT
1:1
100%

Артикул

Название

Примечание

Количество

|$1

20G-04-41112

Fuel Tank Assembly

1

01010-80612

Bolt

2

01643-30623

Washer

3

20Y-04-41590

Elbow

4

02896-11009

O-Ring

5

07000-13050

O-Ring

6

07002-12034

O-Ring

7

07043-A0108

Plug

8

07700-50240

Valve

9

7861-92-5810

Sensor, Fuel

11

417-04-H1150

Cap

11

417-04-21230

Packing

12

20Y-04-41231

Elbow

13

421-04-H1580

Strainer

14

195-60-51560

Breather

15

01010-81635

Bolt

16

01643-31645

Washer

17

195-03-11570

Shim, T=1.0mm

Выбрано товаров: 18