Запчасти Komatsu PW170-5K РАДИАТОР И ТРУБЫ (ТРЕБ-Я ПО БЕЗОПАСНОСТИ ЕС) КОМПОНЕНТЫ ДВИГАТЕЛЯ И ЭЛЕКТРИКА

Схема запчастей Komatsu PW170-5K - РАДИАТОР И ТРУБЫ (ТРЕБ-Я ПО БЕЗОПАСНОСТИ ЕС) КОМПОНЕНТЫ ДВИГАТЕЛЯ И ЭЛЕКТРИКА
FIT
1:1
100%

Артикул

Название

Примечание

Количество

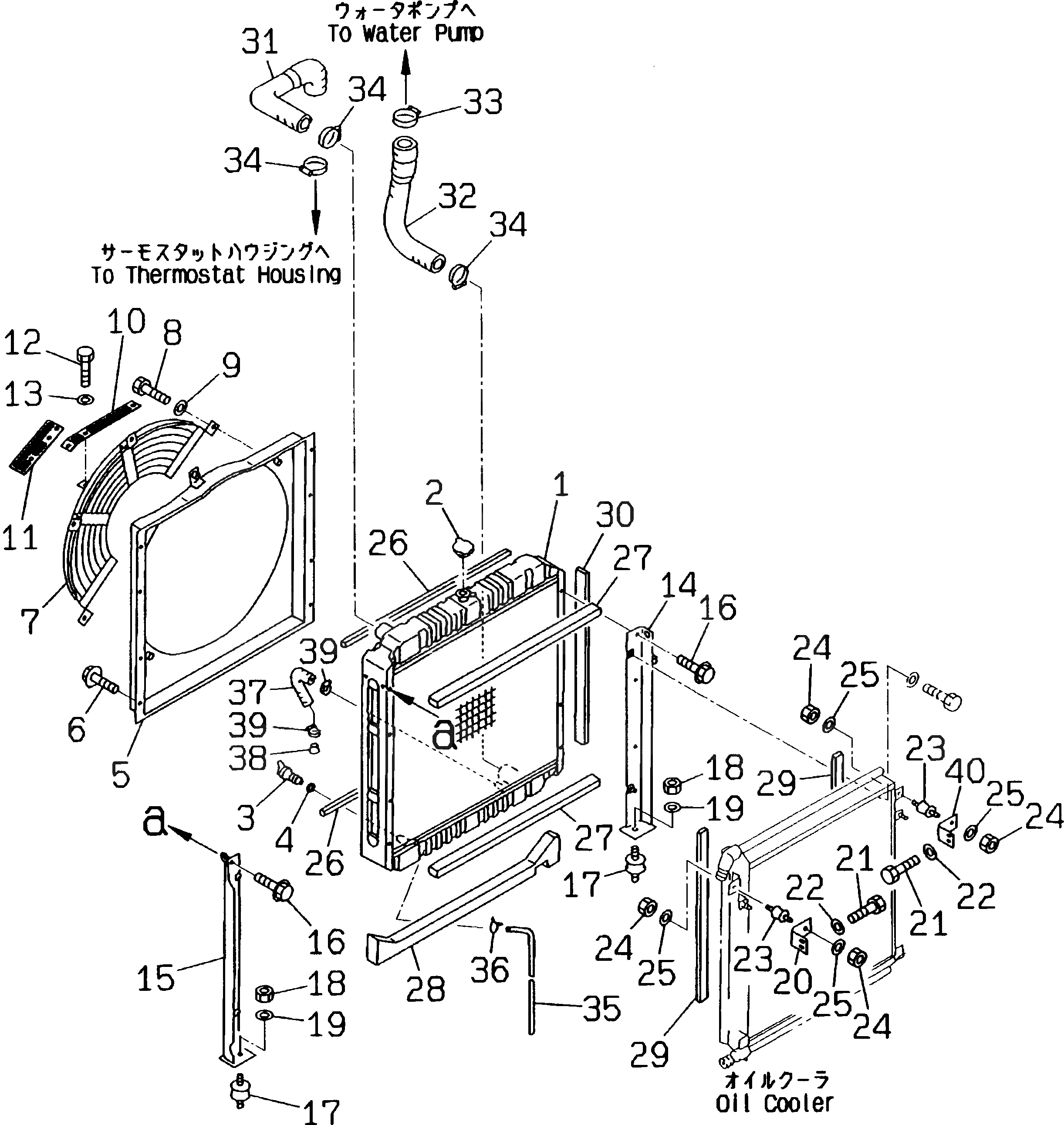
1

21K-03-33410

RADIATOR ASS'Y

2

201-03-51310

CAP

3

205-03-62660

PLUG

4

07000-01007

O-RING

5

21P-03-21340

SHROUD

6

01435-20814

BOLT

7

21P-03-K1130

GUARD

8

01010-51025

BOLT

9

01643-31032

WASHER

10

21P-03-K1151

PLATE

11

21P-03-K1140

PLATE

12

01010-51020

BOLT

13

01643-31032

WASHER

14

21P-03-21350

BRACKET,L.H.

15

21P-03-21360

BRACKET,R.H.

16

01435-20814

BOLT

17

21K-03-33290

CUSHION

18

01580-11210

NUT

19

01643-31232

WASHER

20

21P-03-21270

PLATE

21

01010-51025

BOLT

22

01643-31032

WASHER

23

203-03-56340

CUSHION

24

01580-10806

NUT

25

01643-30823

WASHER

26

21P-03-21410

SHEET

27

21K-03-33160

SHEET

28

21P-03-K1120

SHEET

29

20Y-03-11241

SEAL

30

21P-03-K1110

SHEET

31

21P-03-21130

HOSE

32

21P-03-21330

HOSE

33

208-09-11120

CLAMP

34

208-09-11110

CLAMP

35

203-03-56350

HOSE

36

20Y-03-11330

CLIP

37

195-979-4830

HOSE

38

205-03-62720

PLUG

39

07281-00259

CLAMP

40

21P-03-21320

PLATE

Выбрано товаров: 40