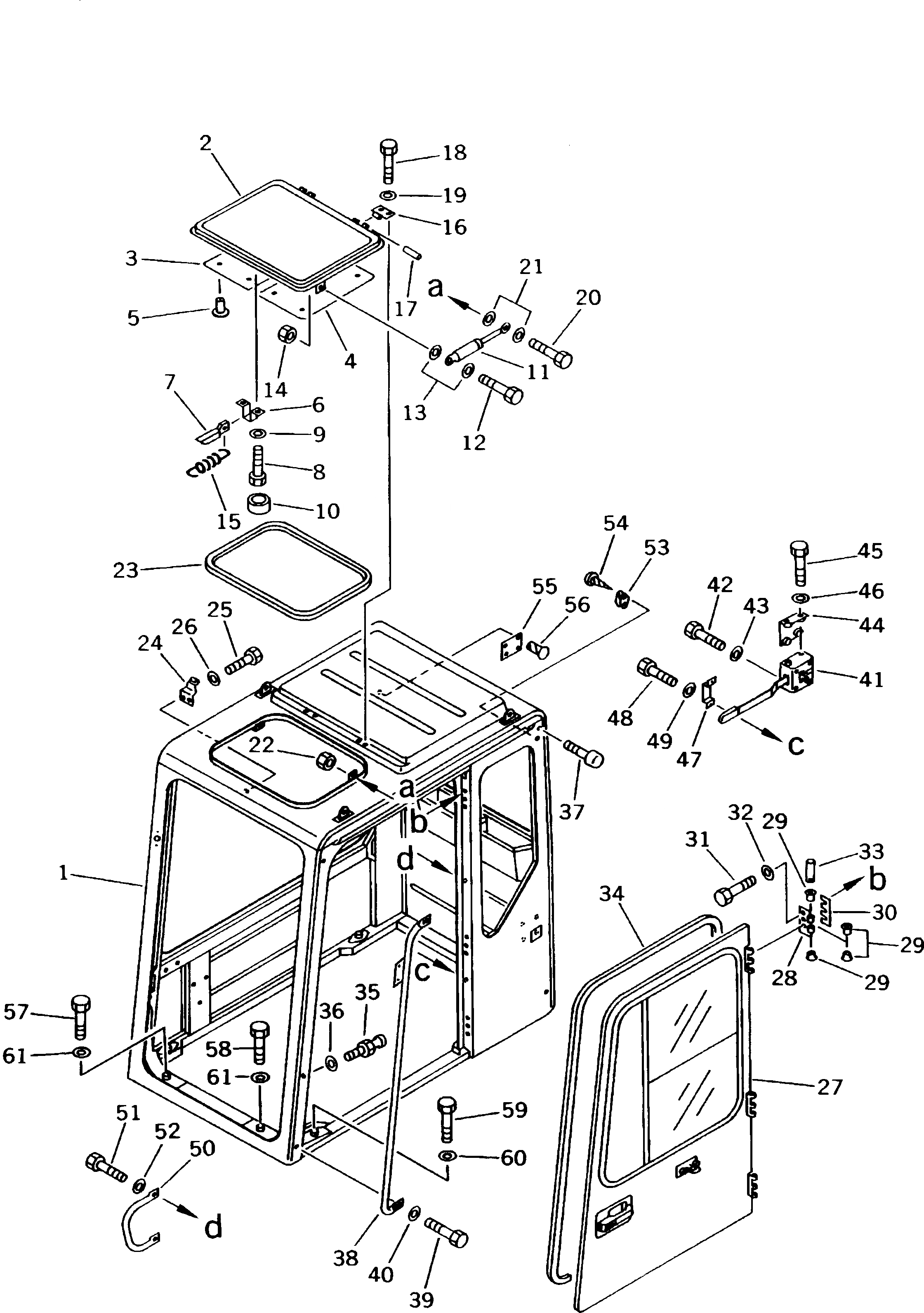
Запчасти Komatsu PW170-5K КАБИНА (/) ЧАСТИ КОРПУСА

Схема запчастей Komatsu PW170-5K - КАБИНА (/) ЧАСТИ КОРПУСА
FIT
1:1
100%

Артикул

Название

Примечание

Количество

|1

20G-54-K1401

OPERATOR'S CAB ASS'Y

1

20Y-54-K1340

CAB

|2

20Y-54-K1440

ROOF HATCH ASS'Y

2

20Y-54-K1350

HATCH,ROOF

3

20Y-54-K1360

TRIM,R.H.

4

20Y-54-K1370

TRIM,L.H.

5

20Y-54-K1550

BUTTON

6

20Y-54-K1410

PLATE,CATCH

7

20Y-54-K1390

CATCH

8

01016-20512

BOLT

9

01641-20508

WASHER

10

20Y-54-K3390

CAP

11

20Y-54-K1380

GAS STRUT

12

01010-50620

BOLT

13

01641-20608

WASHER

14

01598-00608

NUT,LOCK

15

20Y-54-K1420

SPRING

16

20Y-54-K2410

HINGE

17

20Y-54-K2390

PIN

18

01010-50616

BOLT

19

01641-20608

WASHER

20

01010-50625

BOLT

21

01641-20608

WASHER

22

01598-00608

NUT,LOCK

23

20Y-54-K2570

SEAL

24

20Y-54-K2580

BRACKET

25

01010-50616

BOLT

26

01641-20608

WASHER

27

20Y-54-K4420

DOOR ASS'Y,(SEE FIG.5204)

28

20Y-54-K1430

HINGE

29

20Y-54-K1960

BUSHING

30

20Y-54-K1970

SHIM

31

01010-50825

BOLT

32

01641-20812

WASHER

33

20Y-54-K1950

PIN

34

20Y-54-K2620

SEAL

35

20Y-54-K2550

BOLT

36

20Y-54-K2560

WASHER

37

20Y-54-K2290

BUFFER

38

20G-54-K1520

HANDLE

|38

20G-54-K1521

HANDLE,(EC SAFETY REGULATION)

39

01010-51030

BOLT

40

01641-21016

WASHER

41

20Y-54-K1330

LOCK BACK ASS'Y,(SEE FIG.5205)

42

01010-50816

BOLT

43

01641-20812

WASHER

44

20Y-54-K2190

COVER

45

20Y-54-K2750

SCREW

46

01641-20508

WASHER

47

20Y-54-K2210

BRACKET

48

20Y-54-K2740

SCREW

49

01641-20608

WASHER

50

20Y-54-K2540

HANDLE

51

01010-51030

BOLT

52

01641-21016

WASHER

53

20Y-54-K2510

HOOK,COAT

54

20Y-54-K2520

SCREW

55

20Y-54-K2240

PLATE¤ NAME,(LIMITED SUPPLY)

56

20Y-54-K2250

RIVET

57

01010-51270

BOLT

58

01010-51265

BOLT

59

01010-51250

BOLT

60

01643-31232

WASHER

61

01643-51232

WASHER

Выбрано товаров: 64