Запчасти Komatsu PW170-5K АККУМУЛЯТОР КОМПОНЕНТЫ ДВИГАТЕЛЯ И ЭЛЕКТРИКА

Схема запчастей Komatsu PW170-5K - АККУМУЛЯТОР КОМПОНЕНТЫ ДВИГАТЕЛЯ И ЭЛЕКТРИКА
FIT
1:1
100%

Артикул

Название

Примечание

Количество

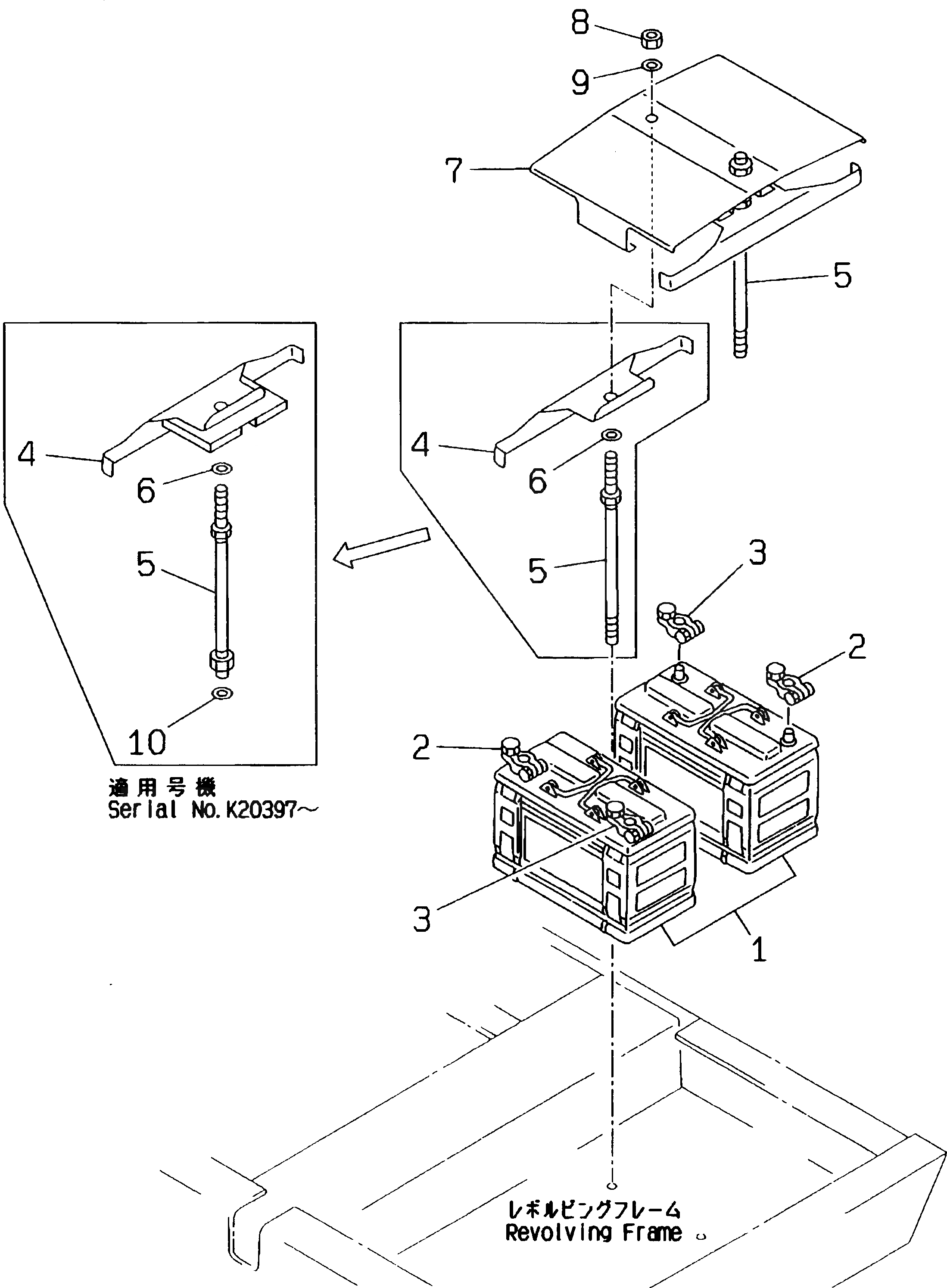
|1

205-06-K1160

BATTERY ASS'Y,(WET)

1

205-06-K1970

BATTERY

2

08000-00000

TERMINAL¤ (+)

3

08000-00001

TERMINAL¤ (-)

4

20Y-06-K1611

HOLDER

|4

205-06-K1140

HOLDER

5

20Y-06-K1630

BOLT

|5

203-06-K1280

BOLT

6

01643-31232

WASHER

7

203-06-K1310

COVER

8

01580-01210

NUT

9

01643-31232

WASHER

10

01642-21216

WASHER

Выбрано товаров: 13