Качественные детали и логистика
Оригинальные и аналоговые запчасти с доставкой по России, Казахстану и Беларуси
©2022 PartSell ООО "Система" ИНН 2463123282 ОГРН 1212400004838
Центральный офис: г. Красноярск, Академика Киренского, д.87, пом.4
Телефон: 8 (800) 777-65-74 Email: zakaz@partsell.ru
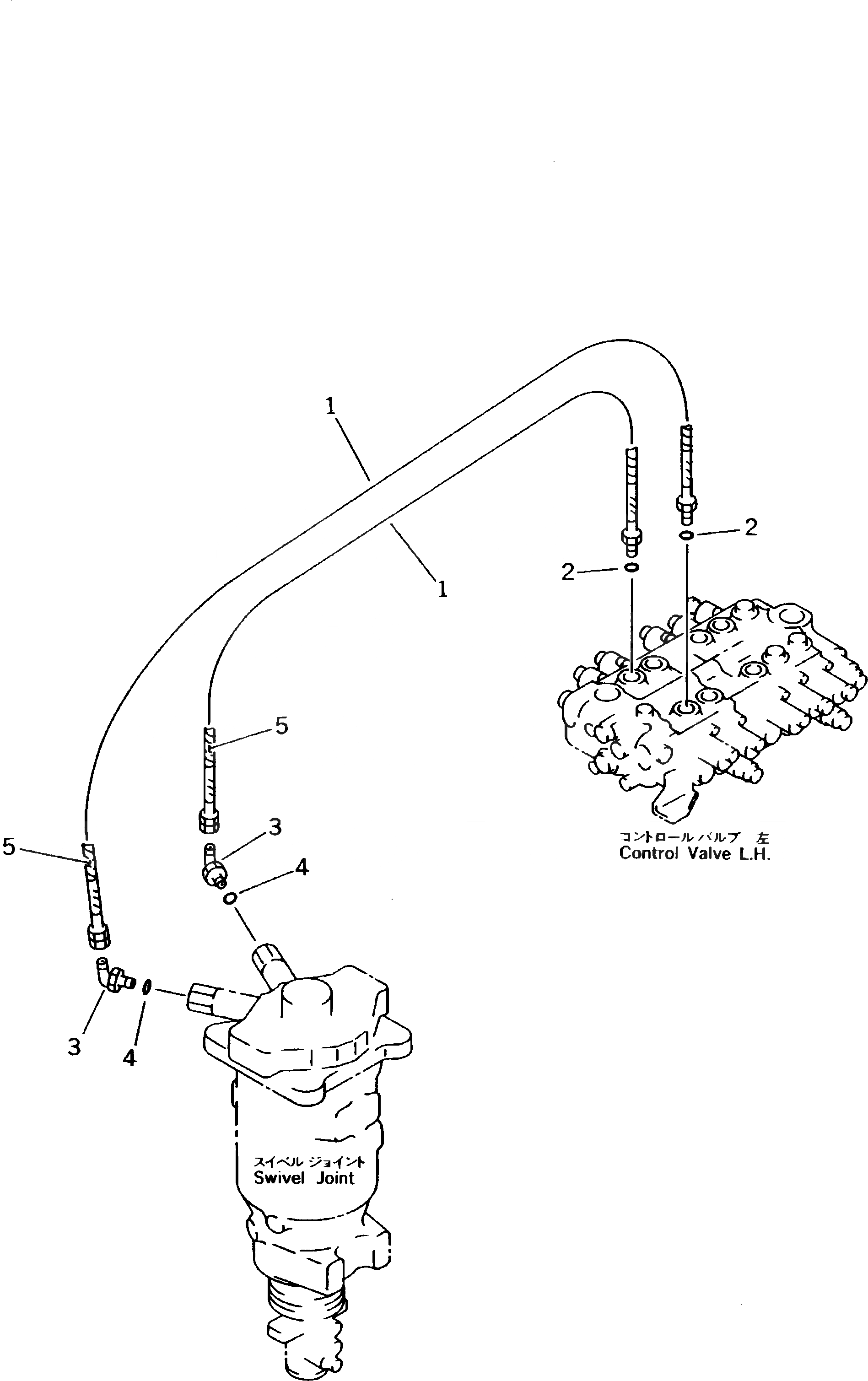
ГИДРОЛИНИЯ (ЛИНИЯ НАВЕСН. ОБОРУД. ШАССИ) (ВЕРХН.)
№
Артикул
Название
Примечание
Количество
1
20G-62-K2891
HOSE
2
07002-12434
O-RING
3
07235-10522
ELBOW
4
5
203-62-58650
COVER
Выбрано товаров: 0