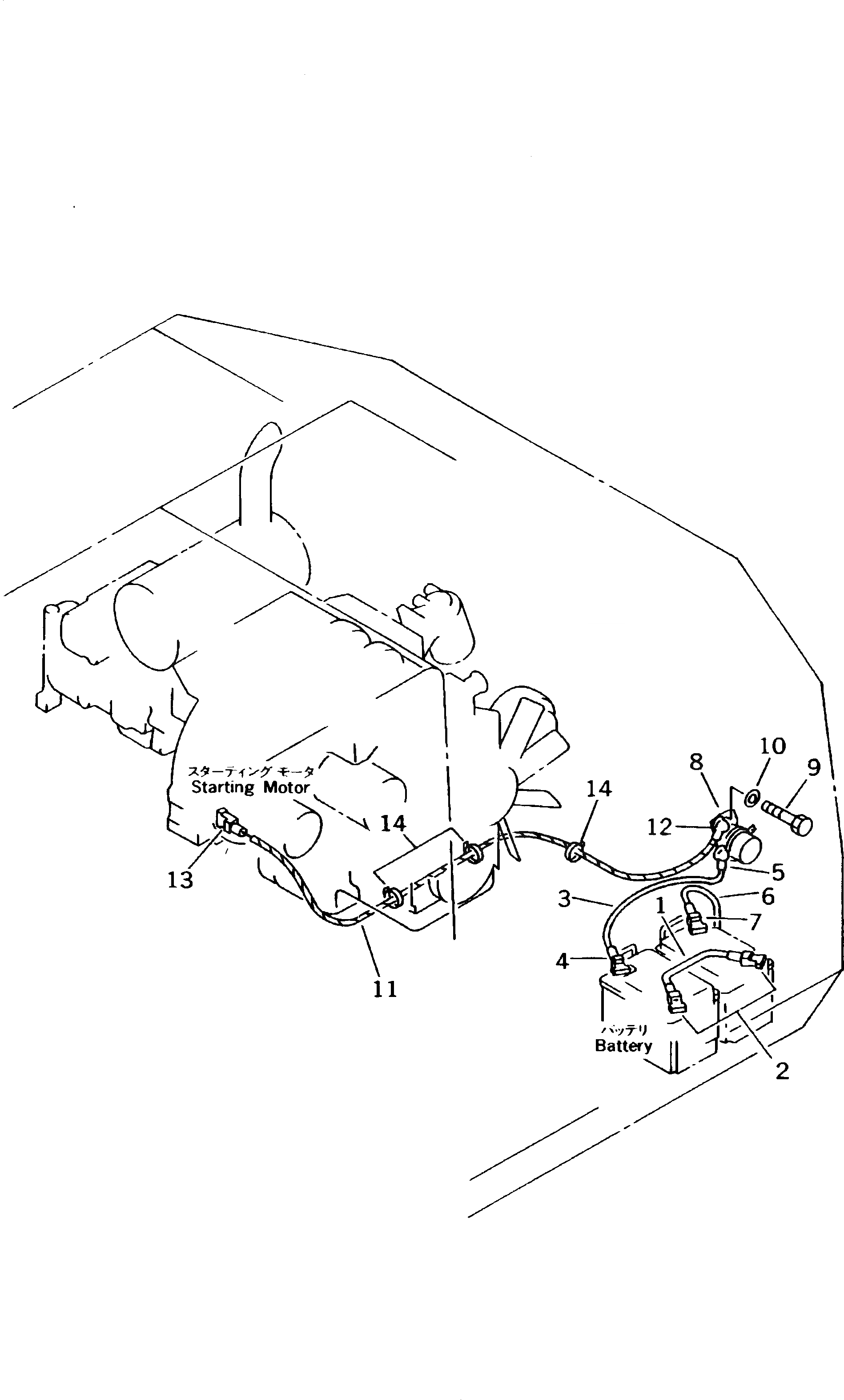
Запчасти Komatsu PW170-5K ЭЛЕКТРИКА (АККУМУЛЯТОР И ЛИНИЯ СТАРТЕРА) КОМПОНЕНТЫ ДВИГАТЕЛЯ И ЭЛЕКТРИКА

Схема запчастей Komatsu PW170-5K - ЭЛЕКТРИКА (АККУМУЛЯТОР И ЛИНИЯ СТАРТЕРА) КОМПОНЕНТЫ ДВИГАТЕЛЯ И ЭЛЕКТРИКА
FIT
1:1
100%

Артикул

Название

Примечание

Количество

1

08028-63030

WIRE

|1

08028-13030

CABLE

2

08038-22511

CAP

3

08028-63080

WIRE

|3

08028-43080

WIRE

4

08038-00519

CAP

5

08038-04030

CAP

6

20X-06-21160

WIRE

7

08038-00519

CAP

8

08088-31000

SWITCH,BATTERY RELAY

9

01010-50816

BOLT

10

01643-30823

WASHER

11

20G-06-K1840

WIRE

12

08038-04030

CAP

13

08038-22511

CAP

14

08034-00519

BAND

Выбрано товаров: 16