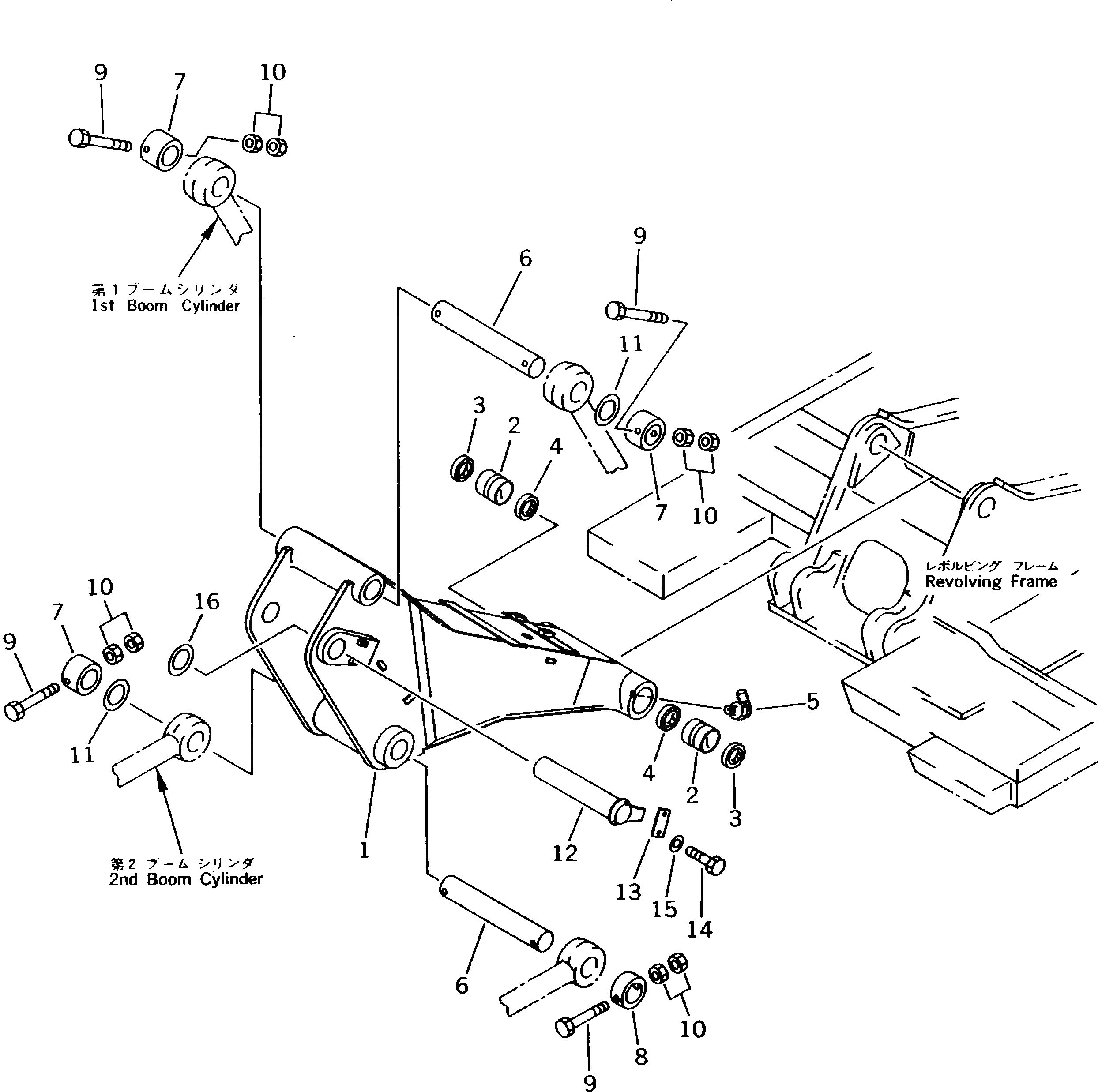
Запчасти Komatsu PW170-5K 1-Я СТРЕЛА(№K-.) РАБОЧЕЕ ОБОРУДОВАНИЕ

Схема запчастей Komatsu PW170-5K - 1-Я СТРЕЛА(№K-.) РАБОЧЕЕ ОБОРУДОВАНИЕ
FIT
1:1
100%

Артикул

Название

Примечание

Количество

1

20G-70-K1150

BOOM,1ST

2

21K-70-31390

BUSHING

3

07145-00080

SEAL,DUST

4

07145-00080

SEAL,DUST

5

07020-00900

FITTING,GREASE

6

206-07-51190

PIN

7

20G-70-K1140

PLATE

8

20Y-70-11170

PLATE

9

20Y-70-11380

BOLT

10

01580-12016

NUT

11

20Y-70-11390

SPACER¤ 0.8MM

|11

20Y-70-11370

SPACER¤ 1.5MM

12

21K-70-31170

PIN

13

21K-70-31320

PLATE

14

01010-51235

BOLT

15

01643-31232

WASHER

16

21K-70-31370

SPACER¤ 0.5MM

|16

205-70-51450

SPACER¤ 1.0MM

Выбрано товаров: 18