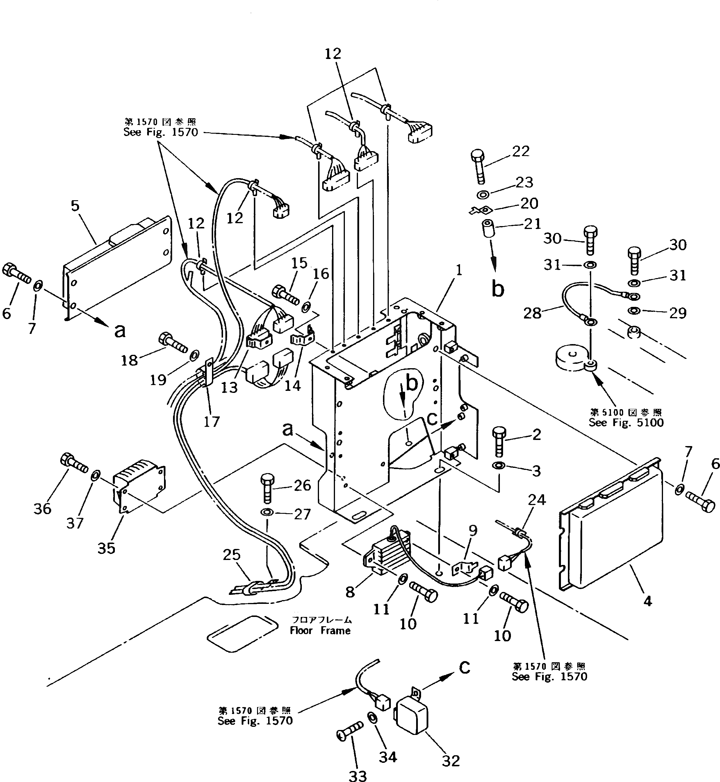
Запчасти Komatsu PW170-5K ЭЛЕКТРИКА (КОРПУС КОНТРОЛЛЕРА) КОМПОНЕНТЫ ДВИГАТЕЛЯ И ЭЛЕКТРИКА

Схема запчастей Komatsu PW170-5K - ЭЛЕКТРИКА (КОРПУС КОНТРОЛЛЕРА) КОМПОНЕНТЫ ДВИГАТЕЛЯ И ЭЛЕКТРИКА
FIT
1:1
100%

Артикул

Название

Примечание

Количество

1

20G-06-K1231

BRACKET

2

01010-51225

BOLT

3

01643-31232

WASHER

4

7824-11-3000

CONTROL BOX ASS'Y,PUMP

5

7824-30-6100

CONTROL BOX ASS'Y,GOVERNOR

6

01010-51020

BOLT

7

01643-31032

WASHER

8

7824-10-2400

RESISTOR

9

08053-01512

CLIP

10

01010-50816

BOLT

11

01643-30823

WASHER

12

20Y-06-16250

CLIP

13

08053-16212

CLIP

14

08053-15012

CLIP

15

01010-50816

BOLT

16

01643-30823

WASHER

17

203-06-56390

CLIP

18

01010-51220

BOLT

19

01643-31232

WASHER

20

08053-01512

CLIP

21

113-03-21170

SPACER

22

01010-51050

BOLT

23

01643-31032

WASHER

24

20Y-54-K4340

CLIP

25

203-06-56390

CLIP

26

01010-51020

BOLT

27

01643-31032

WASHER

28

20Y-06-11940

WIRING HARNESS,CAB EARTH

29

01605-10818

WASHER

30

01010-50816

BOLT

31

01643-30823

WASHER

32

20G-06-K1250

FLASHER UNIT

33

01220-40616

SCREW

34

01642-20608

WASHER

35

7824-80-8000

AMPLIFIER

36

01010-50610

BOLT

37

01642-20608

WASHER

Выбрано товаров: 37