Запчасти Komatsu PW170ES-6K МОТОР ХОДА (ЗАДН.) (KPH) (ВНУТР. ЧАСТИ) (/)(№K-K8) F СИЛОВАЯ ПЕРЕДАЧА

Схема запчастей Komatsu PW170ES-6K - МОТОР ХОДА (ЗАДН.) (KPH) (ВНУТР. ЧАСТИ) (/)(№K-K8) F СИЛОВАЯ ПЕРЕДАЧА
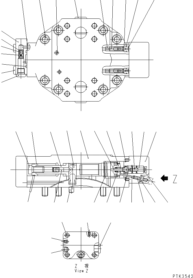
1
2
3
4
5
6
7
8
9
10
11
12
13
14
15
15
16
17
18
19
20
21
22
23
24
25
26
27
28
29
30
31
32
33
34
35
36
37
38
39
40
41
FIT
1:1
100%

Артикул

Название

Примечание

Количество

|1

20G-60-K3172

MOTOR ASSEMBLY,TRAVEL, REAR

|1

20G-60-K3171

MOTOR ASSEMBLY,TRAVEL, REAR

|1

20G-60-K4430

CONTROL ASSEMBLY

|1

20G-60-K4710

ROTARY ASSEMBLY

1

20G-60-K4890

HOUSING

2

20G-60-K2640

BUSHING

3

20G-60-K4910

PISTON

4

20G-60-K4920

BUSHING

5

20G-60-K2670

BOLT

6

20G-60-K4290

SPRING

7

20G-60-K4930

SPRING

8

20G-60-K4940

O-RING

9

20G-60-K4950

SCREW

10

20G-60-K4320

SCREW,DRIVE

11

20G-60-K2730

RING

12

20G-60-K1490

STUD

13

20G-60-K4960

PIN

14

20G-60-K1520

NUT

15

20G-60-K2750

PIN

16

20G-60-K2560

SCREW

17

20G-60-K2760

DISC

|18

20G-60-K4720

COVER ASSEMBLY

18

20G-60-K5570

POPPET

|18

20E-60-K2330

POPPET

19

20G-60-K4970

COVER

20

20G-60-K4980

SCREW

21

20G-60-K4990

SCREW

22

20G-60-K5010

SCREW

23

20G-60-K5020

O-RING

24

20G-60-K4320

SCREW

25

20G-60-K4730

PLATE

26

20G-60-K4740

PISTON

27

20G-60-K4750

TRUNNION

28

20G-60-K4760

PISTON

29

20G-60-K4770

PIN

30

20G-60-K4780

GUIDE

31

20G-60-K4790

BOLT

32

20G-60-K4810

BUSHING

33

20G-60-K4820

SCREW

34

20G-60-K4220

O-RING

35

20G-60-K4830

O-RING

36

20G-60-K4840

O-RING

37

20G-60-K4850

SCREW

38

20G-60-K4860

RING

39

20G-60-K4870

PIN

40

20G-60-K4270

PIN

41

20G-60-K4880

SCREW

Выбрано товаров: 47