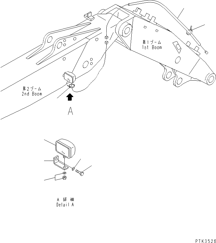
Запчасти Komatsu PW170ES-6K ЭЛЕКТРОПРОВОДКА (РАБОЧ. ОСВЕЩЕНИЕ) (ДЛЯ 2-СЕКЦИОНН. СТРЕЛЫ) E ЭЛЕКТРИКА

Схема запчастей Komatsu PW170ES-6K - ЭЛЕКТРОПРОВОДКА (РАБОЧ. ОСВЕЩЕНИЕ) (ДЛЯ 2-СЕКЦИОНН. СТРЕЛЫ) E ЭЛЕКТРИКА
1
1
2
3
4
5
5
6
FIT
1:1
100%

Артикул

Название

Примечание

Количество

1

20Y-06-K2680

WORK LAMP ASSEMBLY

|1

205-06-K1223

WORK LAMP ASSEMBLY

|1

205-06-K1890

BULB, 70W

2

203-06-56410

BRACKET

3

01643-31445

WASHER

4

01010-81425

BOLT

5

203-06-56570

BAND

|5

203-06-56570

BAND

6

203-06-K1340

WIRING HARNESS

|6

20E-06-K1641

WIRING

Выбрано товаров: 10