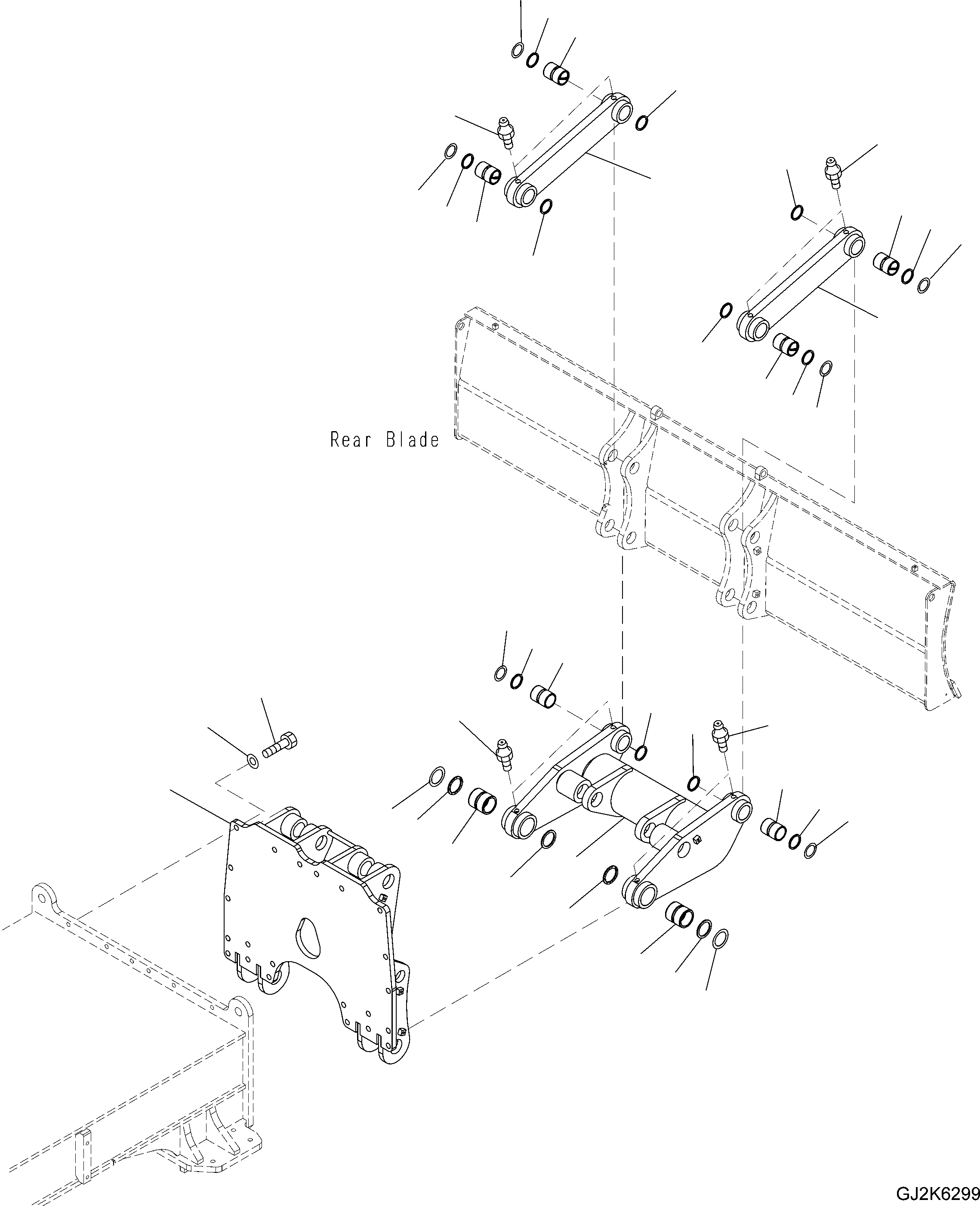
Запчасти Komatsu PW180-10 ЗАДН. ОТВАЛ ОТВАЛ, MM, DOZER СОЕДИНИТЕЛЬН. ЗВЕНО ЗАДН. ОТВАЛ ОТВАЛ, MM

Схема запчастей Komatsu PW180-10 - ЗАДН. ОТВАЛ ОТВАЛ, MM, DOZER СОЕДИНИТЕЛЬН. ЗВЕНО ЗАДН. ОТВАЛ ОТВАЛ, MM
14
5
4
2
5
5
15
6
3
6
1
6
3
6
15
12
13
11
14
5
2
4
14
9
8
9
9
10
8
9
14
7
9
7
8
9
14
10
14
9
8
9
FIT
1:1
100%

Артикул

Название

Примечание

Количество

1

20J-910-1321

Link Assembly

2

20J-910-1370

Bushing

3

20J-910-1390

Bushing

4

07020-00000

Fitting, Grease

5

07145-00050

Seal, Dust

6

07145-00060

Seal, Dust

7

20G-910-3452

Link

8

20K-910-3470

Bushing

9

07145-00050

Seal, Dust

10

07020-00000

Fitting, Grease

11

20J-910-1211

Bracket Assembly

12

01010-82060

Bolt

|$13

01010-82055

Bolt

13

01643-32060

Washer

14

20G-910-3110

Spacer, 1.0mm

14

20G-910-3120

Spacer, 2.0mm

15

20K-910-4360

Spacer, 1.0mm

15

20K-910-4370

Spacer, 2.0mm

Выбрано товаров: 18