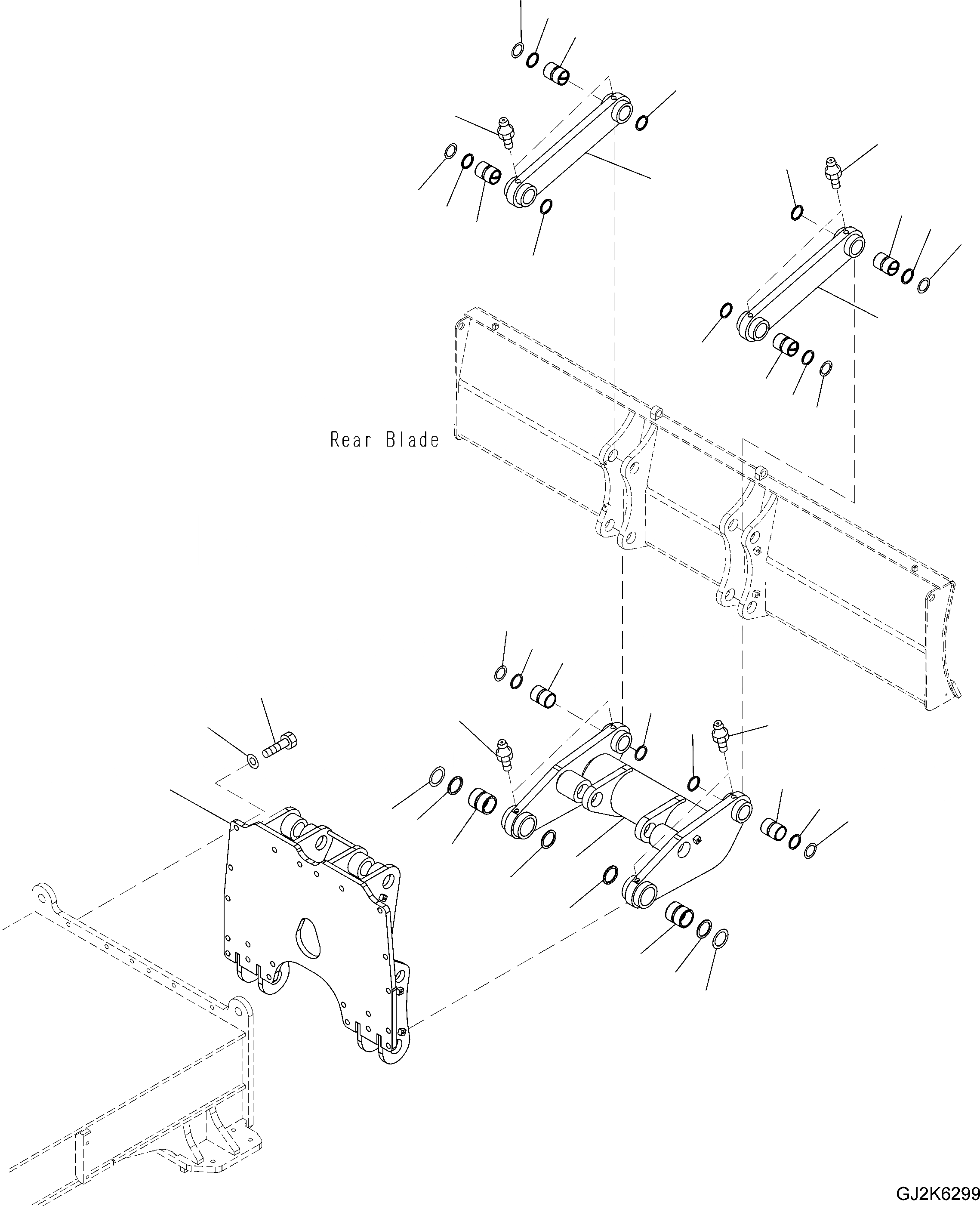
Запчасти Komatsu PW180-7E0 ЗАДН. ОТВАЛ (ЗАДН. ОТВАЛ СОЕДИНИТЕЛЬН. ЗВЕНО) S ПОДВЕСКА И КОЛЕСА

Схема запчастей Komatsu PW180-7E0 - ЗАДН. ОТВАЛ (ЗАДН. ОТВАЛ СОЕДИНИТЕЛЬН. ЗВЕНО) S ПОДВЕСКА И КОЛЕСА
14
5
4
2
5
5
15
6
3
6
1
6
3
6
15
12
13
11
14
5
2
4
14
9
8
9
9
10
8
9
14
7
9
7
8
9
14
10
14
9
8
9
FIT
1:1
100%

Артикул

Название

Примечание

Количество

1

20J-910-1321

LINK

2

20J-910-1370

BUSHING

3

20J-910-1390

BUSHING

4

07020-00000

FITTING, GREASE

5

07145-00050

SEAL, DUST

6

07145-00060

SEAL, DUST, DUST

7

20G-910-3452

LINK

8

20K-910-3470

BUSHING

9

07145-00050

SEAL, DUST

10

07020-00000

FITTING, GREASE

11

20J-910-1211

BRACKET ASSEMBLY

12

01010-82060

BOLT

|$13

01010-82055

BOLT

13

01643-32060

WASHER

14

20G-910-3110

SPACER, 1.0MM

|$16

20G-910-3120

SPACER, 2.0MM

15

20K-910-4360

SPACER, 1.0MM

|$18

20K-910-4370

SPACER, 2.0MM

Выбрано товаров: 18