Запчасти Komatsu PW20-1 HOE РЫЧАГ УПРАВЛ-Я (/) СИСТЕМА УПРАВЛЕНИЯ¤ ОСНОВНАЯ РАМА И ШАССИ

Схема запчастей Komatsu PW20-1 - HOE РЫЧАГ УПРАВЛ-Я (/) СИСТЕМА УПРАВЛЕНИЯ¤ ОСНОВНАЯ РАМА И ШАССИ
FIT
1:1
100%

Артикул

Название

Примечание

Количество

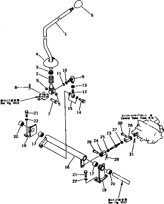
1

21E-43-12111

LEVER

2

09340-10130

SPRING

3

20S-43-11250

SPACER

4

20S-43-11370

COVER

5

203-43-31420

BUSHING

6

203-43-41910

KNOB

6

20D-43-11370

KNOB

7

04205-01450

PIN

8

04050-14022

PIN,COTTER

9

207-43-11170

JOINT

10

01643-51032

WASHER

11

01602-21030

WASHER,SPRING

12

04252-21061

END,ROD

13

01582-11008

NUT

14

01010-51035

BOLT

15

04254-01032

SPACER

16

21E-43-12170

LEVER

17

195-61-34130

BEARING

18

21E-43-12240

BRACKET,L.H.

19

21E-43-12150

BRACKET,R.H.

20

195-61-34130

BEARING

21

01010-51025

BOLT

22

01602-21030

WASHER,SPRING

23

04248-30809

ROD

24

04220-20832

YOKE,L.H. THREAD

25

01508-40805

NUT,L.H. THREAD

26

21E-43-12250

YOKE

27

01580-10806

NUT

28

04205-10822

PIN

29

04050-12012

PIN,COTTER

30

04205-10520

PIN

31

04050-11210

PIN,COTTER

Выбрано товаров: 32