Запчасти Komatsu PW20-1 ПОЛ КАБИНЫ (/) ЧАСТИ КОРПУСА

Схема запчастей Komatsu PW20-1 - ПОЛ КАБИНЫ (/) ЧАСТИ КОРПУСА
FIT
1:1
100%

Артикул

Название

Примечание

Количество

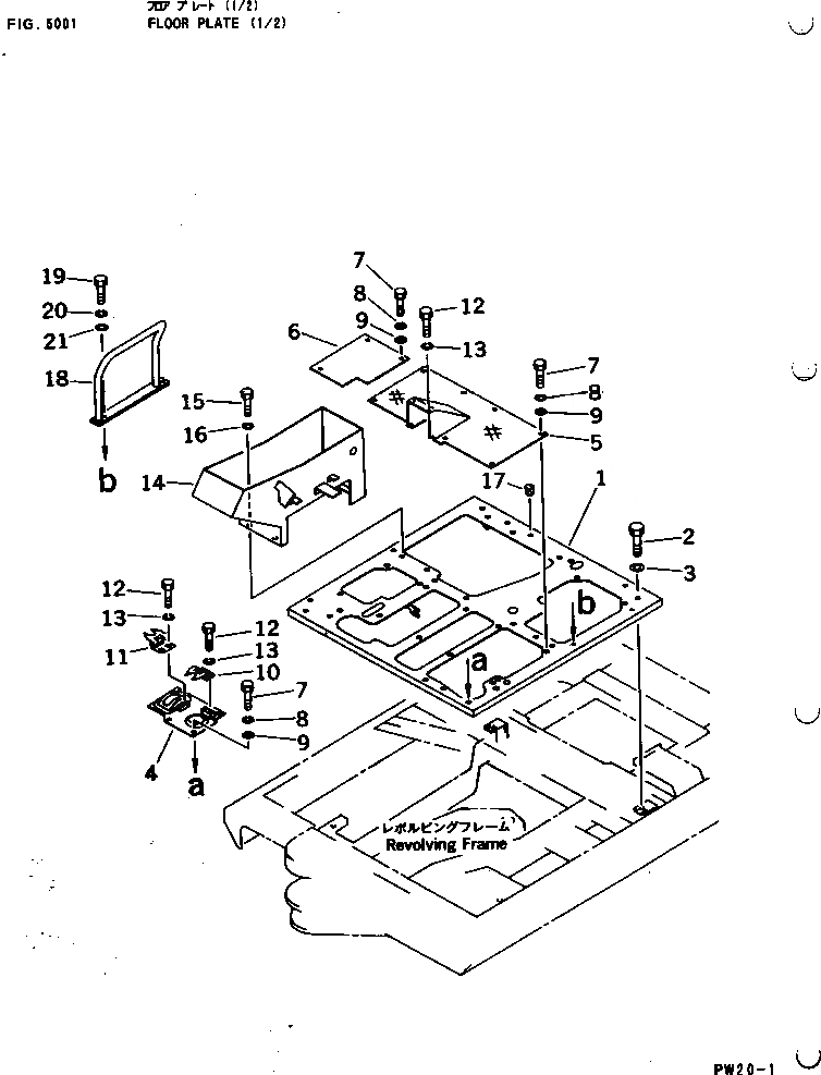
1

21E-54-11610

FRAME

2

01010-51265

BOLT

3

01643-31232

WASHER

4

21E-54-11181

COVER

5

21E-54-11171

FLOOR

6

21E-54-11490

COVER

7

01010-51025

BOLT

8

01602-21030

WASHER,SPRING

9

01643-31032

WASHER

10

21E-54-11620

HINGE

11

20S-43-15140

HINGE

12

01010-50820

BOLT

13

01602-20825

WASHER,SPRING

14

21E-54-11150

PANEL,BOX

15

01010-51025

BOLT

16

01602-21030

WASHER,SPRING

17

07049-01012

PLUG

18

21E-54-12110

HANDLE

19

01010-51030

BOLT

20

01602-21030

WASHER,SPRING

21

01643-31032

WASHER

Выбрано товаров: 21