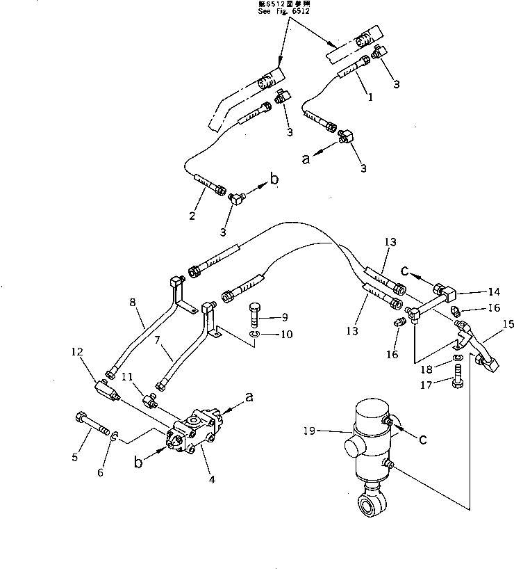
Запчасти Komatsu PW20-1 ГИДРОЛИНИЯ (ПОДВЕСКА БЛОКИР. ЛИНИЯ ЦИЛИНДРА) УПРАВЛ-Е РАБОЧИМ ОБОРУДОВАНИЕМ

Схема запчастей Komatsu PW20-1 - ГИДРОЛИНИЯ (ПОДВЕСКА БЛОКИР. ЛИНИЯ ЦИЛИНДРА) УПРАВЛ-Е РАБОЧИМ ОБОРУДОВАНИЕМ
FIT
1:1
100%

Артикул

Название

Примечание

Количество

1

07108-20203

HOSE

2

07108-20205

HOSE

3

21E-62-14540

ELBOW

4

21E-60-12420

VALVE ASS'Y

5

01010-50870

BOLT

6

01602-20825

WASHER,SPRING

7

21E-62-14520

TUBE

8

21E-62-14530

TUBE

9

01010-51020

BOLT

10

01602-21030

WASHER,SPRING

11

201-936-6280

ELBOW

12

22W-61-14911

ELBOW

13

07108-20306

HOSE

14

21E-62-14390

TUBE

15

21E-62-14380

TUBE

16

07042-20108

PLUG

17

01010-50816

BOLT

18

01602-20825

WASHER,SPRING

19

21E-63-02030

CYLINDER ASS'Y,SUSPENSION LOCK (SEE FIG.6411)

Выбрано товаров: 0