Запчасти Komatsu PW200-1 ЗАЩИТА РАДИАТОРА AND ТРУБЫ(№-) СИСТЕМА ОХЛАЖДЕНИЯ

Схема запчастей Komatsu PW200-1 - ЗАЩИТА РАДИАТОРА AND ТРУБЫ(№-) СИСТЕМА ОХЛАЖДЕНИЯ
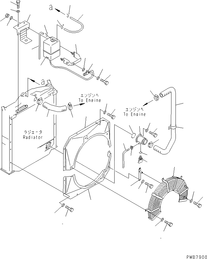
1
2
3
3
4
4
5
6
7
8
9
9
10
10
11
12
12
13
14
15
16
17
18
19
20
21
22
22
23
24
25
26
27
28
29
30
31
31
32
32
32
33
34
35
36
FIT
1:1
100%

Артикул

Название

Примечание

Количество

1

205-03-71140

SHROUD,UPPER

2

205-03-71150

SHROUD,LOWER

3

01010-80816

BOLT

4

01643-30823

WASHER

5

20K-03-11150

BRACKET,LOWER

6

01010-80820

BOLT

7

01643-30823

WASHER

8

20K-03-11130

GUARD

9

01010-80816

BOLT

10

01643-30823

WASHER

11

205-03-71170

HOSE

12

07281-00909

CLAMP

13

205-03-71210

TUBE

14

205-03-62660

PLUG

15

07000-11007

O-RING

|15

07000-01007

O-RING

16

07000-12055

O-RING

|16

07000-02055

O-RING

17

01010-80825

BOLT

18

01643-30823

WASHER

19

205-03-71230

HOSE

20

07280-00910

CLAMP

21

20K-03-11120

HOSE

22

07281-00709

CLAMP

23

205-03-71190

CLAMP

24

205-03-71251

BRACKET

25

01010-81225

BOLT

26

01643-31232

WASHER

27

205-03-71242

TANK,RESERVE

|27

205-03-71532

CAP

28

205-03-71260

BAND

29

01580-10806

NUT

30

01643-30823

WASHER

31

206-03-43331

HOSE

32

206-03-43340

CLIP

33

08052-31711

CLIP

34

01010-80816

BOLT

35

01643-30823

WASHER

36

01643-31032

WASHER

Выбрано товаров: 39