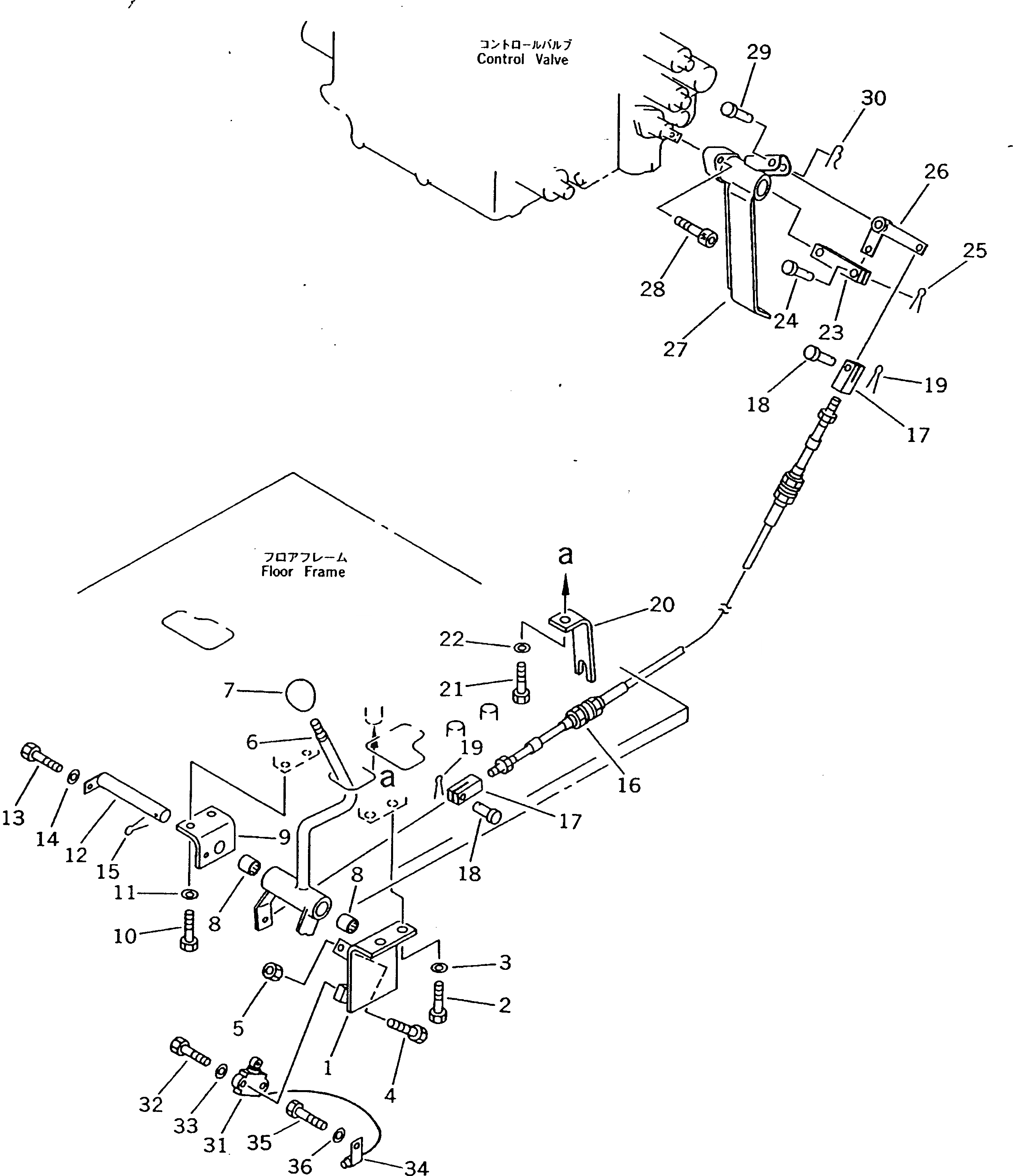
Запчасти Komatsu PW200-1 ОПОРА РЫЧАГ УПРАВЛ-Я КАБИНА ОПЕРАТОРА И СИСТЕМА УПРАВЛЕНИЯ

Схема запчастей Komatsu PW200-1 - ОПОРА РЫЧАГ УПРАВЛ-Я КАБИНА ОПЕРАТОРА И СИСТЕМА УПРАВЛЕНИЯ
FIT
1:1
100%

Артикул

Название

Примечание

Количество

1

20K-43-11380

BRACKET

2

01010-81230

BOLT

|2

01010-51230

BOLT

3

01643-31232

WASHER

4

01016-51040

BOLT

5

01580-11008

NUT

6

20K-43-11350

LEVER

7

205-43-62570

KNOB

8

195-61-34130

BEARING

9

20K-43-11370

SPACER

10

01010-81230

BOLT

|10

01010-51230

BOLT

11

01643-31232

WASHER

12

20K-43-11360

SHAFT

13

01010-80616

BOLT

|13

01010-50616

BOLT

14

01643-30623

WASHER

15

04050-03030

PIN,COTTER

16

20K-43-11410

CABLE

17

04211-20844

YOKE

18

04205-10822

PIN

19

04050-12015

PIN,COTTER

20

20K-43-11390

BRACKET

21

01010-81230

BOLT

|21

01010-51230

BOLT

22

01643-31232

WASHER

23

101-75-31870

YOKE

24

04205-10822

PIN

25

04050-12015

PIN,COTTER

26

205-43-71491

LEVER

27

205-43-71542

BRACKET

28

01252-40835

BOLT

29

04205-31238

PIN

30

04052-01253

PIN,SNAP

31

22W-06-15860

SWITCH

32

01010-81030

BOLT

|32

01010-51030

BOLT

33

01643-31032

WASHER

34

195-06-41820

CLIP

|34

08036-01814

CLIP

35

01010-81225

BOLT

|35

01010-51225

BOLT

36

01643-31232

WASHER

Выбрано товаров: 43