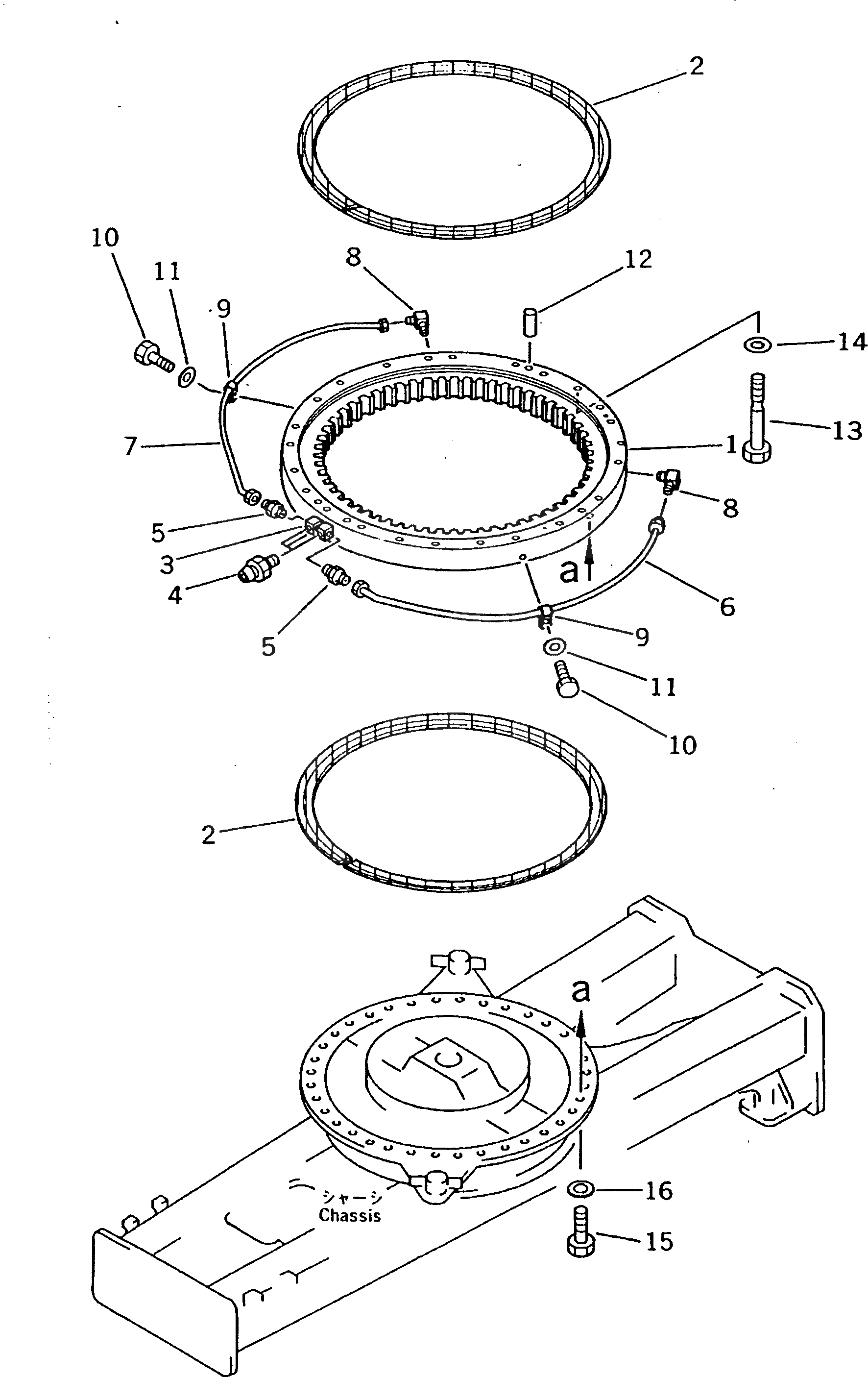
Запчасти Komatsu PW200-1 ПОВОРОТН. КРУГ ПОВОРОТН. КРУГ И КОМПОНЕНТЫ

Схема запчастей Komatsu PW200-1 - ПОВОРОТН. КРУГ ПОВОРОТН. КРУГ И КОМПОНЕНТЫ
FIT
1:1
100%

Артикул

Название

Примечание

Количество

1

20K-25-11100

CIRCLE,SWING

2

205-25-71151

SEAL

3

205-25-71280

NIPPLE

4

07020-00000

FITTING,GREASE

5

07213-50813

CONNECTOR

6

20K-25-11210

TUBE

7

20K-25-11220

TUBE

8

207-70-11740

ELBOW

9

08036-00814

CLIP

10

01010-81016

BOLT

|10

01010-51016

BOLT

11

01643-31032

WASHER

12

04020-01842

PIN,DOWEL

|12

04020-01842

PIN,DOWEL

13

20K-09-11110

BOLT

14

01643-32260

WASHER

15

01018-32070

BOLT

16

01643-32060

WASHER

Выбрано товаров: 18