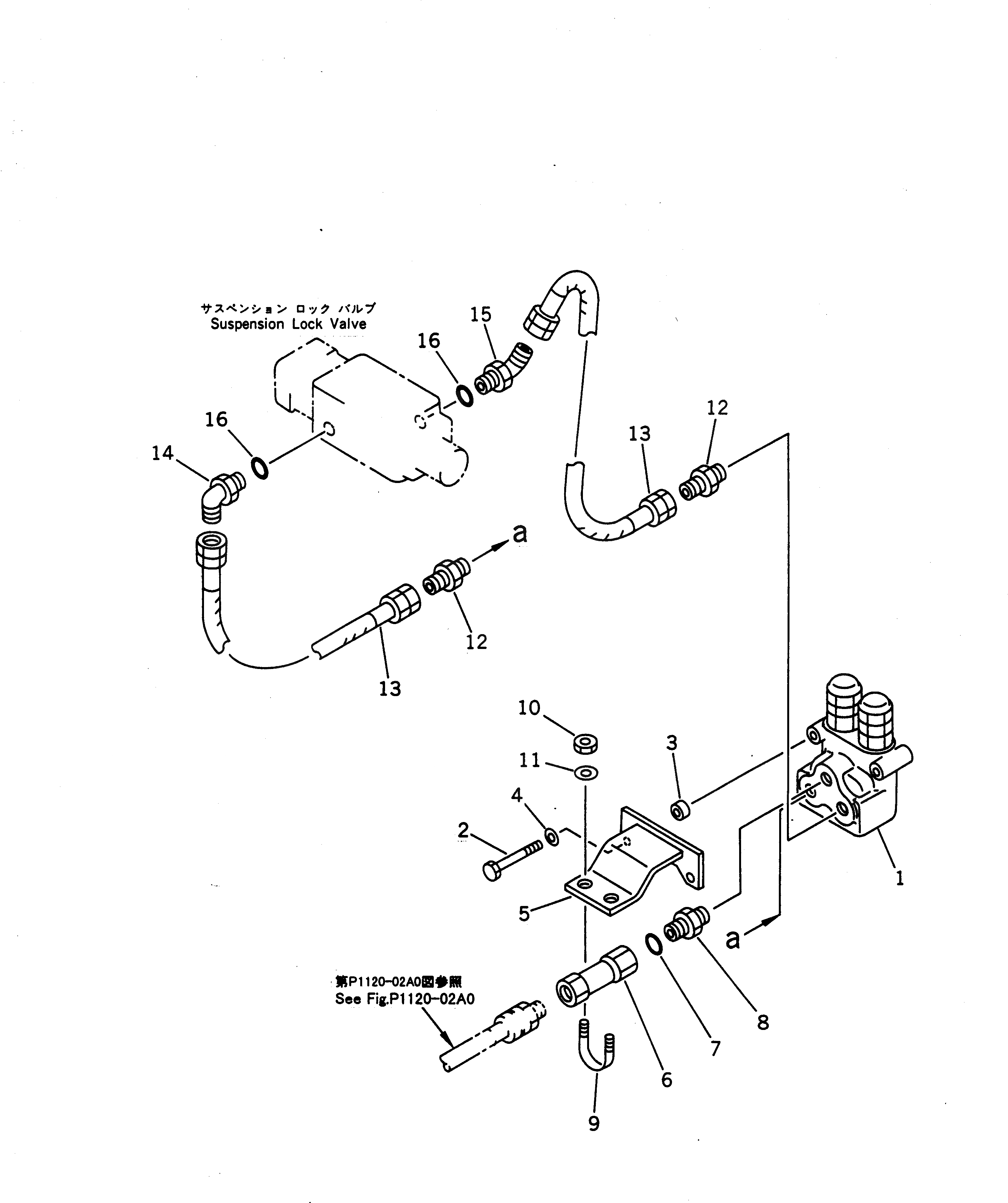
Запчасти Komatsu PW200-1 ПОДВЕСКА БЛОКИР. СИСТЕМА ТРУБ ЦИЛИНДРА (/)(№-) ХОДОВАЯ

Схема запчастей Komatsu PW200-1 - ПОДВЕСКА БЛОКИР. СИСТЕМА ТРУБ ЦИЛИНДРА (/)(№-) ХОДОВАЯ
FIT
1:1
100%

Артикул

Название

Примечание

Количество

1

20B-60-12300

VALVE,DOUBLE SAFETY

2

01010-50870

BOLT

3

568-34-21222

SPACER

4

01643-30823

WASHER

5

20K-62-13290

BRACKET

6

20K-62-13310

VALVE ASS'Y

7

07002-12034

O-RING

8

22R-62-11420

NIPPLE

9

07283-22738

CLIP

10

01599-01011

NUT

11

01643-31032

WASHER

12

19U-77-71560

CONNECTOR

13

07109-20304

HOSE

14

07235-10315

ELBOW

15

07236-10315

ELBOW

16

07002-12034

O-RING

Выбрано товаров: 0