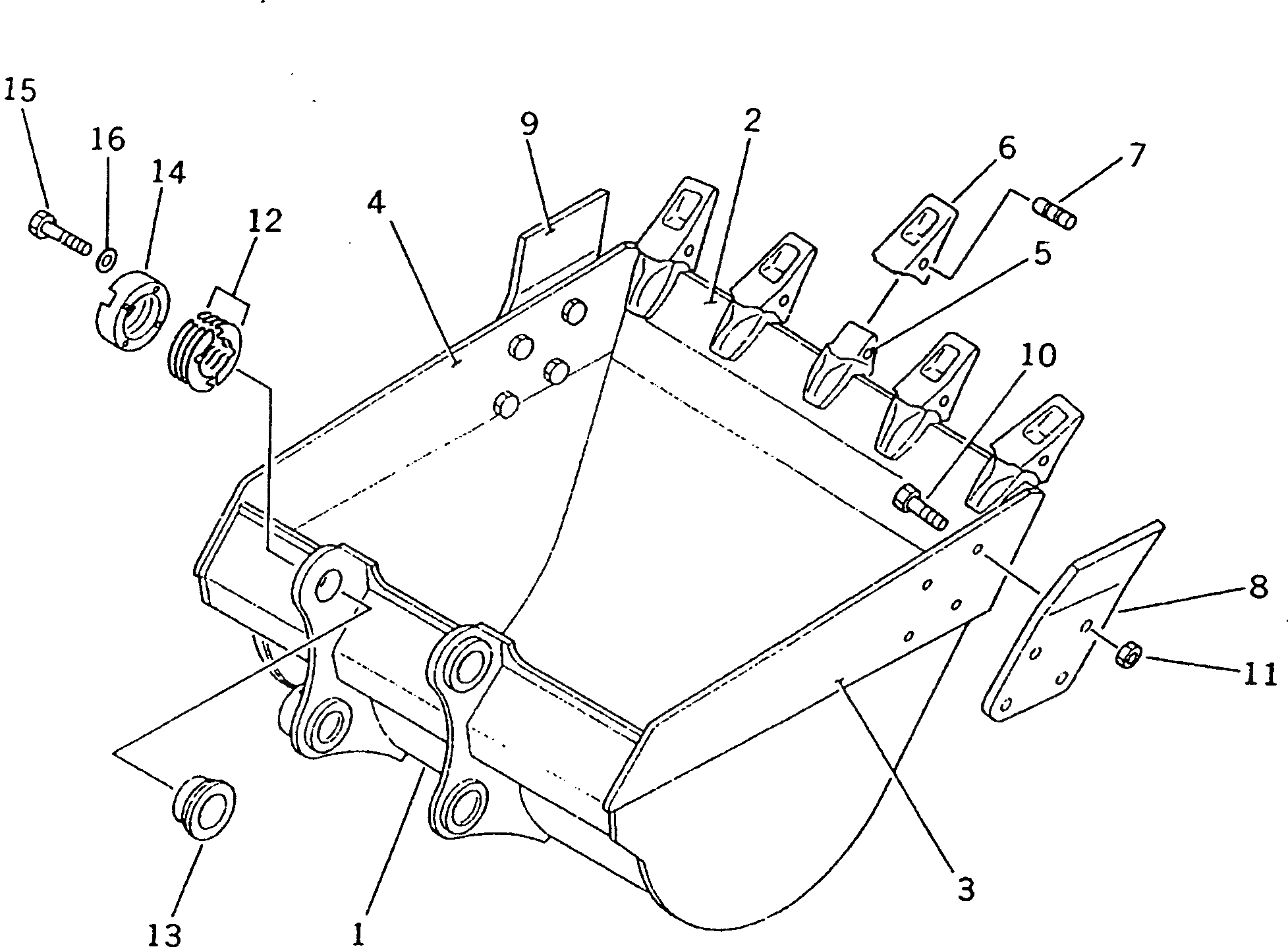
Запчасти Komatsu PW200-1 КОВШ¤ .8M¤ ШИР. MM¤ ГОРИЗОНТАЛЬН. ПАЛЕЦ(№-7) РАБОЧЕЕ ОБОРУДОВАНИЕ

Схема запчастей Komatsu PW200-1 - КОВШ¤ .8M¤ ШИР. MM¤ ГОРИЗОНТАЛЬН. ПАЛЕЦ(№-7) РАБОЧЕЕ ОБОРУДОВАНИЕ
FIT
1:1
100%

Артикул

Название

Примечание

Количество

1

20Y-920-1150

BUCKET

2

20Y-920-1120

PLATE (WELDED)

3

20Y-70-14131

PLATE,L.H. (WELDED)

4

20Y-70-14141

PLATE,R.H. (WELDED)

5

20Y-70-14520

ADAPTER (WELDED)

6

205-70-19570

TOOTH

7

09244-02496

PIN

8

205-70-74180

CUTTER,L.H.

9

205-70-74190

CUTTER,R.H.

10

176-32-11210

BOLT¤ SHOE

11

01803-02430

NUT

12

205-70-00100

SHIM ASS'Y

|12

SHIM¤ 0.5MM

|12

SHIM¤ 1.0MM

13

205-70-74381

SPACER

14

205-70-74391

PLATE

15

01010-52055

BOLT

16

01643-32060

WASHER

Выбрано товаров: 18