Запчасти Komatsu PW200-1 ВЕРХН. ВОЗДУХОВОД (РЕЗЕРВУАР - ВОЗД. ФИЛЬТР.) ВОЗД. СИСТЕМА

Схема запчастей Komatsu PW200-1 - ВЕРХН. ВОЗДУХОВОД (РЕЗЕРВУАР - ВОЗД. ФИЛЬТР.) ВОЗД. СИСТЕМА
FIT
1:1
100%

Артикул

Название

Примечание

Количество

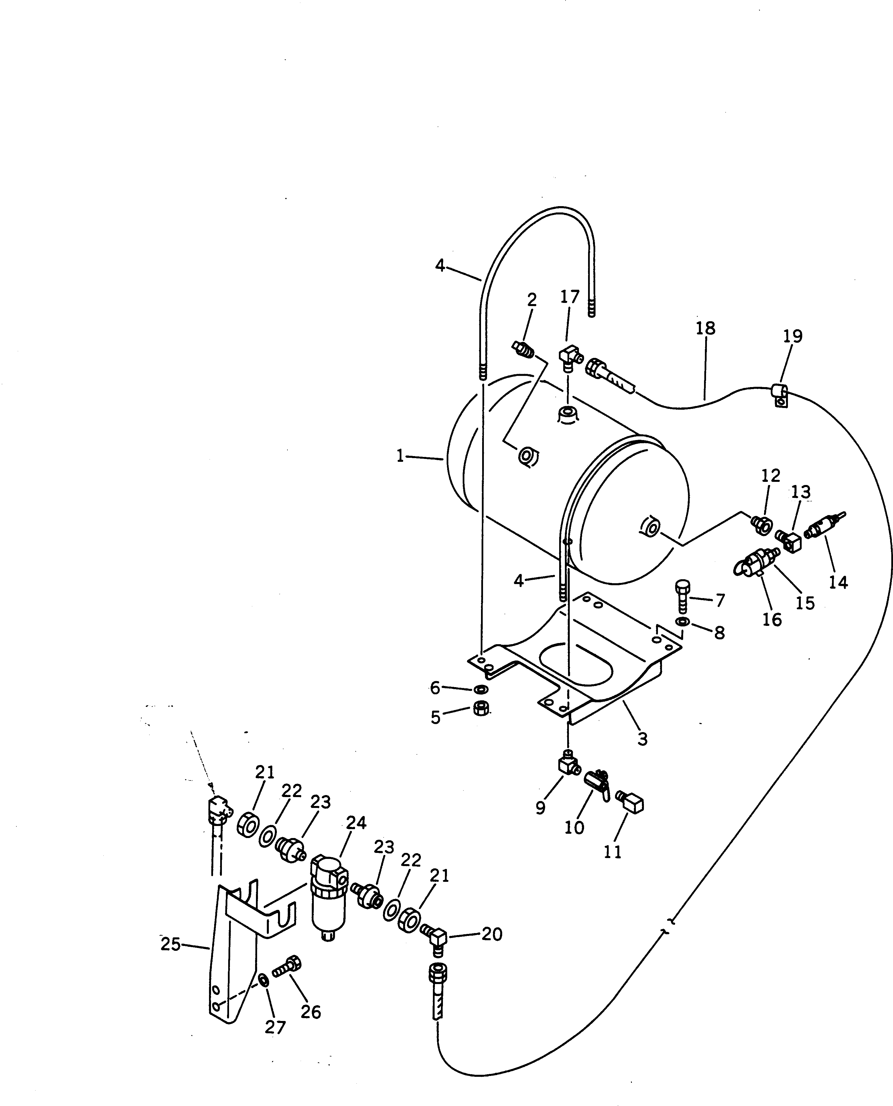
1

20G-68-11110

RESERVOIR,AIR

2

07042-30415

PLUG

3

20K-68-11610

BRACKET

4

20K-68-11620

U-BOLT

5

01599-01214

NUT

6

01643-31232

WASHER

7

01010-81230

BOLT

|7

01010-51230

BOLT

8

01643-31232

WASHER

9

20D-68-11670

ELBOW

10

07700-40240

VALVE

11

20G-68-12930

ELBOW

12

07326-10402

ADAPTER

13

113-890-1760

ELBOW

14

07815-00209

VALVE ASS'Y,SAFETY

15

22W-44-11661

SWITCH,PRESSURE

16

08034-00536

BAND

17

144-04-51130

ELBOW

18

07102-20316

HOSE

|18

07102-20318

HOSE

19

08036-01814

CLIP

20

144-865-6260

ELBOW

21

01582-12419

NUT

22

01643-32460

WASHER

23

20K-68-11250

NIPPLE

24

20K-68-11260

FILTER

25

20K-68-11181

BRACKET

26

01010-81225

BOLT

|26

01010-51225

BOLT

27

01643-31232

WASHER

Выбрано товаров: 30