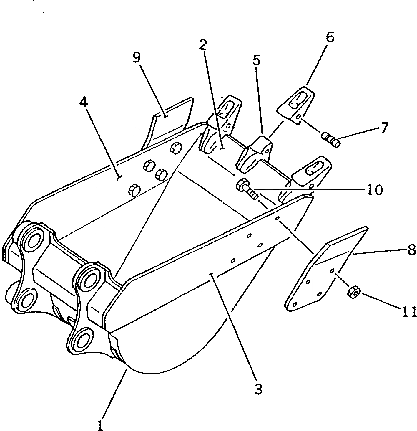
Запчасти Komatsu PW200-1 КОВШ¤ .M¤ ШИР. 7MM (ГОРИЗОНТАЛЬН. ПАЛЕЦ)(№-7) РАБОЧЕЕ ОБОРУДОВАНИЕ

Схема запчастей Komatsu PW200-1 - КОВШ¤ .M¤ ШИР. 7MM (ГОРИЗОНТАЛЬН. ПАЛЕЦ)(№-7) РАБОЧЕЕ ОБОРУДОВАНИЕ
FIT
1:1
100%

Артикул

Название

Примечание

Количество

1

205-926-7250

BUCKET

2

205-926-7220

PLATE (WELDED)

3

205-70-74161

PLATE,L.H. (WELDED)

4

205-70-74171

PLATE,R.H. (WELDED)

5

205-939-7120

ADAPTER (WELDED)

6

205-70-19570

TOOTH

7

09244-02496

PIN

8

205-70-74180

CUTTER,L.H.

9

205-70-74190

CUTTER,R.H.

10

176-32-11210

BOLT¤ SHOE

11

01803-02430

NUT

Выбрано товаров: 11