Качественные детали и логистика
Оригинальные и аналоговые запчасти с доставкой по России, Казахстану и Беларуси
©2022 PartSell ООО "Система" ИНН 2463123282 ОГРН 1212400004838
Центральный офис: г. Красноярск, Академика Киренского, д.87, пом.4
Телефон: 8 (800) 777-65-74 Email: zakaz@partsell.ru
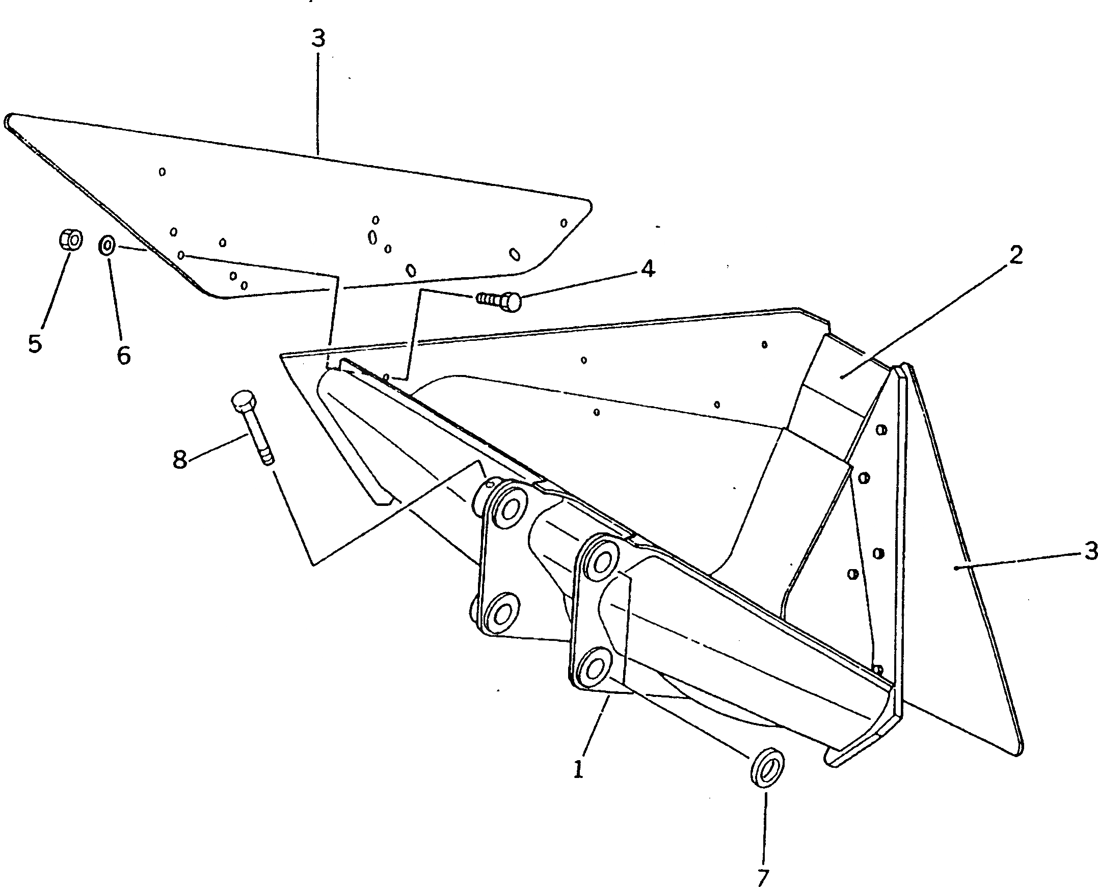
TRAPEZOIDAL КОВШ(№-7)
№
Артикул
Название
Примечание
Количество
1
205-929-6210
BUCKET,TRAPEZOIDAL
2
205-929-6120
PLATE (WELDED)
3
PLATE
4
01010-32470
BOLT
5
01580-02419
NUT
6
01643-32460
WASHER
7
205-70-74410
COLLAR
8
205-70-73190
Выбрано товаров: 0