Качественные детали и логистика
Оригинальные и аналоговые запчасти с доставкой по России, Казахстану и Беларуси
©2022 PartSell ООО "Система" ИНН 2463123282 ОГРН 1212400004838
Центральный офис: г. Красноярск, Академика Киренского, д.87, пом.4
Телефон: 8 (800) 777-65-74 Email: zakaz@partsell.ru
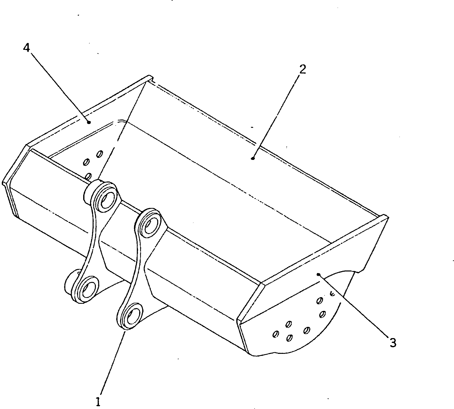
КОВШ ДЛЯ ЗАЧИСТКИ ТРАНШЕЙ¤ .7M¤ ШИР. 8MM
№
Артикул
Название
Примечание
Количество
1
205-938-7111
BUCKET
2
205-938-6220
PLATE (WELDED)
3
205-938-6230
PLATE,L.H. (WELDED)
4
205-938-6240
PLATE,R.H. (WELDED)
Выбрано товаров: 0